by
Pipob Kamolratana
Fisheries Extension Division, Department of Fisheries
Bangkok, Thailand
Background
A. Freshwater Aquaculture
Generally, it is true that people of Thailand used to release fish into the ponds and sanctuaries of the temples over the Kingdom, but such practices were mainly for religious purposes. Furthermore, there are numerous small ponds constructed and maintained by the farmers in various parts of the country, especially along canals in the central plain, are trapping ponds. These ponds are deeper than the adjacent streams and canals and are connected with them by short and narrow passages through which various kind of fishes enter into the ponds when water in bigh for seeking food and refuge. After and interval of 2–4 months, when the water recedes, the passages are blocked, water bailed out and fishes are caught with simple hand-net. Operation of this kind may be regarded as a primitive type of fish culture.
Actual operation of fish culture in ponds for the production of food was started for some 60 years ago by Chinese immigrants who brought with them some common carps (Cyprinus carpio) from China. Soon afterwards, fry and fingerings of other Chinese carps were imported for culturing. However, such culturing operation were done only by a few Chinese on a small seale and were confined around Bangkok area.
A program for the development of fish culture was initiated by the Department of Fisheries for some 50 years ago with the establishment of the first four fisheries stations at Bangkhen - Bangkok, Bungborapet Nakornsawan, Kwan Payao - Payao, and Nong Harn - Sakolnakorn. Afterward, many freshwater fisheries stations were constructed in every region of the country (Table 1). One of the principle activities of the station is fisheries extension work.
B. Brackishwater Aquaculture (Coastal Aquaculture)
Brackishwater aquaculture practice was initiated for some 50 – 60 years ago with traditional methods. The popular cultured species such as sea bass, milk fish were collected for culturing purpose from estuarine areas the mouths of the rivers, the tidal streams and canals along the coast on both sides of the Gult of Thailand. The mollusc culture was practiced on green mussel, ark shell (bloody cockle), and horse mussel. The sea - shrimp culture was practiced around the areas where there were certain occurrences and abundances of seed seashrimp.
The first brackishwater fisheries station was constructed at Klong Wan, Prachuabki ikhan Province in 1951 for conducting experiment on aquaculture and working on fisheries extension. Afterward many brackishwater fisheries stations were constructed (Table 1) especially the National Institute for Coastal Aquaculture at Songkla which has responsibilities for conducting research on aquaculture and fisheries extension all over 14 provinces of the South.
Because Thailand has a vast areas of fertile tidal, mangrove swamps that some are not being utilized, the purpose of brackishwater aquaculture development is aimed to expand and manage these areas for sea shrimp, mollusc and fish culture (Table 1).
Government Agencies and Private Sector that Involve in Aquaculture Extension in Thailand
A. The Department of Fisheries (DOF)
The Department of Fisheries is the most principal government agency supporting aquaculture extension throughout the country. Services including production and distribution of seed fish, implementation of special project, research, training, loan or other extension services are supplied by the divisions of the DOF or by fisheries field stations and provincial and district fisheries offices.
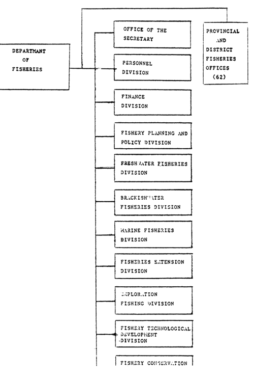
There are 11 divisions in the DOF (Fig. 1), but only 6 divisions have involved in supporting aquaculture extension. They are:
Freshwater Fisheries Division. The activities of this division that support aquaculture extension are production of seed fish and freshwater shrimp for the farmers, demonstration of aquaculture, training and teaching propapation techniques of commercial fish species, service on parasite and disease control and other technological needs. These activities are supplied by institution and field stations under the planning and direction of the division.
Brackishwater Fisheries Division. The activities of this division that support aquaculture extension are as the same as of the Freshwater Fisheries Division. The activities are also supplied by institution and field stations under the planning and direction of the division.
Marine Fisheries Division. Most of the activities of this division are involving in conducting research and investigation work for marine fisheries management. The only activity that support aquaculture extension is production of seed fish (sea bass and grouper) for the farmers.
Fisheries Policies and Planning Division. Currently, this division is being responsible for a special project, Aquaculture Development Project in the Kingdom of Thailand, which has been loaned by Asian Development Bank. The Project has a focus on the development production of five commercially important species, freshwater giant shrimp, banana shrimp, tiger shrimp, sand goby and pangasius. Seed fish and shrimp and extension services are supplied by field fisheries stations under this project (Table 1, No. 33, 34, 45, 46).
Conservation Division. The activities of this division such as, general extension, demonstration of aquaculture, training and teaching of basic techniques in aquaculture to farmers are supplied by provincial and district administration offices.
Fisheries Extension Division. The activities of this division for aquaculture extension are, (1) to establish the policies for aquaculture extension, (2) to produce extension materials (e.g. audio-visual aids, posters, printed matters, etc.) (3) to prepare training courses, (4) to make coordination of extension work among the division, fisheries field stations and provincial administration offices, (5) to support a loan to small scale fish farmers, and (6) to prepare public relation work.
B. Other Government Agencies
There are many other government agencies that involve in aquaculture extension aspect. Some of which are:
These agencies always promote fisheries extension as a component of rural development. Bank of Agriculture and Agriculture Cooperatives provides credit for private farmers or for fishermen's cooperatives.
C. Private Sector
Aquaculture extension services by the private sector include the supply of seed fish by commercial producers, credit by middlemen and banks, relevant materials (e.g. net, inorganic fertilizer, feedstuff, etc.) by retail bussiness, and the construction of ponds and related work.
Policies of Aquaculture Extension
The two of several main policies of aquaculture extension are:
Production from freshwater aquaculture is expected for local consumption, and the production from brackishwater aquaculture (or coastal aquaculture) is expected for local consumption and for export (esp. sea shrimp production).
Type of Culture, Number of Farms and Production
A. Freshwater Aquaculture
Type of freshwater aquaculture comprises of (1) pond culture, (2) paddy culture (3) ditch culture, and (4) cage culture.
Pond Culture
There were about 52,000 rai of freshwater fish pond in 1983, distributed among 28,942 farms with 42,662 ponds (Table 3, 4). Total production from pond culture in 1983 was 26,070 tons. The main species cultured were Pangasius sutchi (6,730 tons), Tilapia nilotica (5,780 tons), Ophiocephalus striatus (3,810 tons), Puntius gonionotus (3,390 tons), Clarias spp. (2,740 tons) and Macrobrachium rosenbergii (1,110).
Paddy Culture
The area of paddy culture in 1983 was 179,740 rai. Total production was 19,697 tons.
The main species cultured were Trichogaster pectoralis (9,280), Tilapia nilotica (5,800 tons), Puntius gonionotus (1,390 tons), Ophiocephlus Striatus (900 tons) and Cyprinus carpio (700 tons).
Ditch Culture
There were 1,690 rai of freshwater ditch culture in 1983, distributed among 575 farms throughout the country. Culture practices very and are general not well developed. Total production in 1983 was 870 tons. The main species cultured were Tilapia nilotica (500 tons), Puntius gonionotus (250) Ophicephalus striatus (37 tons), Pangasius sutchi (11 tons) and Macrobrachium rosenbergii (39 tons).
Cage Culture
There are about 600 hundred cage culture farmers which produced about 320 tons of fish from 1,230 cages in 1983 (Table ). Production from cage culture tends to decrease due to the outbreak of fish disease in 1982 and 1983. The species culture were catfish (Pangasius sutchi) and sand goby Oxyeleotris mamoratus.
B. Brackish Aquaculture (Coastal Aquaculture)
Brackiswater aquaculture comprises of (1) pond culture, (2) mollusc culture and (3) cage culture.
Brackishwater Pond Culture
There were 230,829 rai brackishwater ponds in Thailand in 1983, comprising 5,334 farms (Table 8). The principal species cultured were banana shrimp (Penaeus merguiensis) jumbo tiger shrimp (P. monodon) and schooling shrimp (Metapenaeus spp.). Practice of culture fish species such as sea bass in brackishwater pond was done in some area with small scale operation. The main areas of shrimp culture located in the four inner Gulf provinces: Samut Prakan, Bangkok, Smut Sakon, Samut Songkram and two provinces of the South: Nakorn Srithamarat and Surat Thani. Current and forecasted areas for culture operation is shown on Table 8.
Mullusc Culture
There are 3 – 4 species of mollusc (bivalve) being cultured along the coast on the both sides of Gulf and on the Andaman Sea side. They are green mussel, ark shell (bloody cockle), oyster and horse mussel. Among these, green mussel is expected to culture for local consumption and export, and the others are for local consumption purpose. The total production of mollusc culture in 1982 is 112,735 tons, from which 65,509 tons are green mussel production. Current and forecasted rearing area is shown on table 8.
Cage Culture
In 1979, by the program for Development of Small Scale Fisheries, the Department of Fisheries set up several domonstration cages in selected villages in Phangnga Province, at the northern end of Phangnga Bay. Since that time the rapid growth of brackishwater fish cage culture in Phangnga Bay from a few domonstation cages in 1979 to over 1,000 in 1983. Total production in Phangnga Bay in 1983 was 357 tons. This kind of activity was also developingiin Songkla Lake too, but data was not available.
The principle cultured species are sea bass (Lates calcalifer) and grouper (Epinephalus spp.). The fry of sea bass and grouper produced each year by government hatcheries are not sufficient for the demand of the farmers. Therefore, private sector especially for sea bass hatcheries and nurseries appear to be expanding rapidly.
Problems of Aquaculture Operation
Problems that affect both freshwater and brackishwater aquaculture operation include:
Table 1 List of Fisheries Institutes and Stations
INLAND FISHERIES INSTITUTE AND STATIONS
| Name | Province | |
| 1. | National Inland Fisheries Institute | Bangkok |
| 2. | Chainat Inland Fisheries Station | Chainat |
| 3. | Nakhonratchasima Inland Fisheries Station | Nakhonratchasima |
| 4. | Khon Kaen Inland Fisheries Station | Khon Kaen |
| 5. | Ubonratchathani Inland Fisheries Station | Ubonratchathani |
| 6. | Mahasarakham Inland Fisheries Station | Mahasarakham |
| 7. | Surin Inland Fisheries Station | Surin |
| 8. | Udonthani Inland Fisheries Station | Udonthani |
| 9. | Kalasin Inland Fisheries Station | Kalasin |
| 10. | Sakonnakhon Inland Fisheries Station | Sakonnakhon |
| 11. | Nongkhai Inland Fisheries Station | Nongkhai |
| 12. | Chiangmai Inland Fisheries Station | Chiangmai |
| 13. | Phayao Inland Fisheries Station | Phayao |
| 14. | Chiangrai Inland Fisheries Station | Chiangrai |
| 15. | Tak Inland Fisheries Station | Tak |
| 16. | Nakhosawan Inland Fisheries Station | Nakhonsawan |
| 17. | Phichit Inland Fisheries Station | Phichit |
| 18. | Chachoengsao Inland Fisheries Station | Chachoengsao |
| 19. | Suphanburi Inland Fisheries Station | Suphanburi |
| 20. | Kanchanaburi Inland Fisheries Station | Kanchanaburi |
| 21. | Pattani Inland Fisheries Station | Pattani |
| 22. | Phatthalung Inland Fisheries Station | Phatthalung |
| 23. | Yala Inland Fisheries Station | Yala |
| 24. | Buriram Inland Fisheries Station | Buriram |
| 25. | Loei Inland Fisheries Station | Loei |
| 26. | Trang Inland Fisheries Station | Trang |
| 27. | Ayutthaya Inland Fisheries Station | Ayutthaya |
| 28. | Satun Inland Fisheries Station | Satun |
| 29. | Rayong Inland Fisheries Station | Rayong |
| 30. | Prachinburi Inland Fisheries Station | Prachinburi |
| 31. | Suratthani Inland Fisheries Station | Suratthani |
| 32. | Loei Inland Fisheries Station | Loei |
| 33. | Pathumthani Freshwater Fish Culture Development Station | Pathumthani |
| 34. | Ranode Freshwater Prawn Culture Development Station | Songkhla |
| 35. | Inland Fisheries Experimentation Unit (Attached to Northeast Agricultural Center) | Khonkaen |
| 36. | Ubolratana Reservoir Fisheries Unit | Khonkaen |
| 37. | National Institute for Coastal Aquaculture, Songkhla | Songkhla |
| 38. | Chanthaburi Brackish Water Fisheries Station | Chanthaburi |
| 39. | Phuket Brackish Water Fisheries Station | Phuket |
| 40. | Suratthani Brackish Water Fisheries Station | Suratthani |
| 41. | Satun Brackish Water Fisheries Station | Satun |
| 42. | Samut Sakhorn Brackish Water Fisheries Station | Samutsakhorn |
| 43. | Rayong Brackish Water Fisheries Station | Rayong |
| 44. | Prachuap Khiri Khan Brackish Water Fisheries Station | Prachuap Khiri Khan |
| 45. | Rayong Shrimp Mariculture Development Station | Rayong |
| 46. | Sichon Shrimp Mariculture Development Station | Nakhon Si Thammarat |
| Marine Fisheries Stations | ||
| 47. | Rayong Marine Fisheries Station | Rayong |
| 48. | Phuket Marine Fisheries Station | Phuket |
TABLE 2 NUMBER OF FISH FRY PRODUCED BY INLAND AND BRACKISH FISHERIES STATIONS, 1983.
| SPECIES | NO. OF FRY | REMARK | |
| 1. | COMMON CARP | 9,982,961 | FRESHWATER FISHES |
| 2. | TILAPIA | 15,745,209 | |
| 3. | PUNTIUS | 38,908,796 | |
| 4. | INDIAN CARP | 21,928,609 | |
| 5. | PANGASIUS | 2,855,520 | |
| 6. | CHINESE CARP | 436,250 | |
| 7. | MACROBRACIUM | 18,575,555 | |
| 8. | OTHERS | 6,536,735 | |
| 9. | SEA BASS | 4,725,610 | BRACKISHWATER FISHES |
| 10. | SEA SHRIMP | 9,765,441 | |
| 11. | OTHERS | 6,060 | |
| TOTAL | 129,466,746 | ||
TABLE 3 NO. OF FRESHWATER FISH FARMS AND REARING AREA (HAVING PRODUCTS) BY TYPE OF CULTURE, 1983.
| NO OF FARM | TOTAL AREA (RAI) | TYPE OF CULTURE | REMARK | |||||||
| POND | PADDY | DITCH | CAGE | |||||||
| NO. | AREA | NO. | AREA | NO. | AREA | NO. | AREA | |||
| 35,751 | 233,733 | 28,942 | 52,247 | 5,634 | 179,747 | 575 | 1,693 | 600 | 46 | |
TABLE 4 NO. OF FRESHWATER FISH CULTURE UNIT AND REARING AREA (HAVING PRODUCTS) BY TYPE OF CULTURE AND BY REGION, 1983.
| REGION | TOTAL | POND CULTURE | PADDY FIELD CULTURE | DITCH CULTURE | CAGE CULTURE | |||||
| NO.OF UNIT | AREA | NO.OF UNIT | AREA | NO.OF UNIT | AREA | NO.OF UNIT | AREA | NO.OF UNIT | AREA | |
| NORTHERN | 9,178 | 5,616 | 8,323 | 5,070 | 61 | 496 | 230 | 40 | 564 | |
| NORTHEASTERN | 22,598 | 68,123 | 20,309 | 18,744 | 2,262 | 49,377 | 23 | 2 | 4 | |
| CENTRAL PLAIN | 4,917 | 12,281 | 4,097 | 11,865 | 26 | 316 | 255 | 98 | 539 | |
| EASTERN | 6,473 | 118,815 | 2,050 | 1,978 | 3,207 | 116,143 | 1,209 | 679 | 7 | |
| WESTERN | 7,415 | 28,313 | 5,264 | 14,024 | 547 | 13,415 | 1,506 | 873 | 98 | |
| SOUTHERN | 2,639 | 584 | 2,619 | 566 | - | - | 2 | LESSTHAN 1 | 18 | |
| GRAND TOTAL | 53,220 | 233,732 | 42,662 | 52,247 | 6,103 | 179,747 | 3,225 | 1,692 | 1,230 | |
TABLE 5 PRODUCTION OF FISH FARM AND VALUE IN EACH REGION BY TYPE OF CULTURE, 1983.
QUANTITY: TON VALUE: ฿1,000
| REGION | TOTAL | POND CULTURE | PADDY CULTURE | DITCH CULTURE | CAGE CULTURE | |||||
| QUANTITY | VALUE | QUANTITY | VALUE | QUANTITY | VALUE | QUANTITY | VALUE | QUANTITY | VALUE | |
| NORTHERN | 3,094.08 | 64,858.69 | 2,839.34 | 56,752.69 | 37.13 | 871.89 | 12.40 | 316.46 | 205.21 | |
| NORTHEASTERN | 5,459.07 | 162,878.81 | 3,915.14 | 117,516.03 | 1,543.07 | 45,335.18 | 0.81 | 24.36 | 0.05 | |
| CENTRAL PLAIN | 9,476.01 | 178,585.26 | 9,261.32 | 166,291.00 | 61.98 | 812.42 | 39.14 | 619.04 | 113.57 | |
| EASTERN | 14,291.62 | 220,662.95 | 2,170.61 | 49,590.09 | 12,037.68 | 169,737.37 | 82.83 | 1,242.99 | - | - |
| WESTERN | 13,717.06 | 348,153.25 | 6,956.34 | 259,037.88 | 6,017.23 | 72,794.25 | 736,51 | 15,877.99 | 6.98 | |
| SOUTHERN | 928.55 | 30,440.10 | 928.35 | 30,434.10 | - | - | 0.20 | 6.00 | - | - |
| GRAND TOTAL | 46,966.39 | 1,005,579.06 | 26,071,10 | 679,621.79 | 19,697.09 | 289,551.11 | 871.89 | 18,086.84 | 326.31 | |
TABLE 6 QUANTITY AND VALUE OF SOME MAJOR FRESHWATER FISHES (CULTURED), 1983.
| SPECIES | QUANTITY (TON) | VALUE (฿ MILLION) | |
| 1. | TILAPIA NILOTICA | 12,091 | 174 |
| 2. | TRICHOGASTER PECTORALIS | 9,326 | 115 |
| 3. | PANGASIUS SUTCHI | 6,962 | 80 |
| 4. | PUNTIUS GONIONOTUS | 5,051 | 103 |
| 5. | OPHICEPHALUS STRIAUS | 4,754 | 154 |
| 6. | CLARIAS SPP. | 2,960 | 94 |
| 7. | CYPRINUS CARPIO | 1,914 | 53 |
| 8. | MACROBRACHIUM ROSENBERGII | 1,152 | 158 |
| 9. | CHINESE CARP | 856 | 13 |
| 10. | LABEO ROHITA | 501 | 14 |
| 11. | OXYELECTRIS MARMORATUS | 85 | 14 |
TABLE 7 RELATIVE COMPARISION BETWEEN FRESHWATER FISH PRODUCTION (CULTURED) AND TOTAL FISH PRODUCTION OF THAILAND, 1983.
| 1. | TOTAL PRODUCTION | = | 2,255,433 | TONS |
| 2. | MARINE FISHERIES PRODUCTION (+ SOME BRACKISHWATER FISHERIES PRODUCTION) | = | 2,099,986 | TONS |
| = | 93.1 % | |||
| 3. | FRESHWATER FISHERIES PRODUCTION | |||
| 2.1 CAPTURE FISHERIES | = | 108,481 | TONS | |
| = | 4.8 % | |||
| 2.2 CULTURED FISHERIES | = | 46,966 | TONS | |
| = | 2.1 % |
TABLE 8 CURRENT AND FORECASTED REARING AREA (BY SPECIES) OF BRACKISH WATER AQUACULTURE
| SPECIES | CURRENT AREA (RAI) | FORECASTED AREA | TOTAL AREA | |
| SEA SHRIMP | 230,829 | 144,750 | 375,579 | |
| GREEN MUSSEL | 4,117 | 62,150 | 66,267 | |
| ARK SHELL | 7,539 | 90,425 | 97,964 | |
| OYSTER | 7,046 | 35,933 | 42,979 | |
| HORSE HUSSLE | 1,500 | 28,850 | 30,350 | |
| GRAND TOTAL | 251,031 | 362,108 | 613,139 |
SOURCE : DERIVED FROM REPORT OF AQUACULTURE RESOURCES SURVEY SUB - DIVISION, BRACKISH WATER FISHERIES DIVISION, 1983.
TABLE 9 NO. OF SEA SHRIMP FARMS, REARING AREA AND PRODUCTION DURING YEARS 1974 – 1983
| YEARS | NO.OF FARMS | AREA (RAI) | PRODUCTION (TON) | AVERAGE Kg/RAI/YEAR |
| 1974 | 1,518 | 75,567 | 1,775.00 | 23.49 |
| 1975 | 1,568 | 80,422 | 2,538.29 | 31.56 |
| 1976 | 1,544 | 76,850 | 2,533.33 | 32.96 |
| 1977 | 1,437 | 77,567 | 1,589.54 | 20.49 |
| 1978 | 3,645 | 151,055 | 6,394.83 | 42.33 |
| 1979 | 3,378 | 154,222 | 7,064.07 | 45.80 |
| 1980 | 3,572 | 162,727 | 8,063.05 | 49.55 |
| 1981 | 3,657 | 171,619 | 10,727.87 | 62.51 |
| 1982 | 3,943 | 192,453 | 10,090.77 | 52.43 |
| 1983 | 5,334 | 230,829 | 14,426.81 | 62.50 |
SOURCE : AQUACULTURE RESEARCH SUB - DIVISION, BRACKISH WATER FISHERIES DIVISION.
TABLE 10 PRODUCTION OF SEA SHRIMP FROM CAPTURE FISHERIES AND CULTURE FISHERIES
QUANTITY : TON
| YEAR | CAPTURE FISHERIES | CULTURE FISHERIES |
| 1974 | 80,093 | 1,775 |
| 1975 | 87,039 | 2,538 |
| 1976 | 88,672 | 2,533 |
| 1977 | 118,953 | 1,589 |
| 1978 | 127,404 | 6,394 |
| 1979 | 116,456 | 7,064 |
| 1980 | 118,341 | 8,063 |
| 1981 | 133,435 | 10,727 |
| 1982 | 166,614 | 10,090 |
SOURCE : FISHERIES STATISTICS SECTION, DEPT. OF FISHERIES 1982.
TABLE 11 PRODUCTION OF GREEN MUSSELS DURING 1980 – 1982
| YEAR | PRODUCTION (TON) |
| 1980 | 27,711 |
| 1981 | 36,748 |
| 1982 | 65,509 |
SOURCE : FISHERIES STATISTICS SECTION, DEPT. OF FISHERIES 1982.

FIGURE 1 ORGANIZATION OF THE DEPARTMENT OF FISHERIES

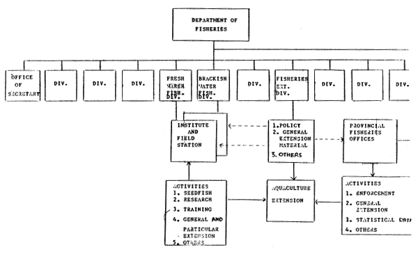
FIGURE 2 LINE OF COMMAND AND SERVICE FUNCTION THROUGH THE LOCAL LEVELS OF OPERATION FOR AQUACULTURE EXTENSION.
FIGURE 3 NO. OF FRESHWATER FISH FARMS, 1974 – 1983.

FIGURE 4 AREA OF FRESHWATER FISH FARMS (HAVING PRODUCT) 1974 – 1983

FIGURE 5 QUANTITY AND VALUE OF FRESHWATER FISH, 1974 – 1983.

FIGURE 6 NO. OF FRESHWATER FISH FARMS BY TYPE OF CULTURE, 1983.

Area of Fish farms by type of culture, 1983.

FIGURE 7 YIELD OF FRESHWATER FISH, 1983.
Quantity of Freshwater Fish

Value of Freshwater Fish

