The open systems have many technical variants, ranging from small transport fish-cans, containers for fish transport within the territory of a fish farm, up to special fish transport trucks and tank wagons.
In all cases of fish transport in open systems, it should be borne in mind that even a short-time transport of 10–30 m in open plastic or metal tanks should be done under the conditions of constant air or oxygen supply. This is very important to the welfare of fish even if dissolved oxygen content of water seems to be satisfactorily high in the tank. Transport longer than half an hour should be in completely filled and closed tanks to prevent splashing and injuries to young fish bumping into each other in the well of the tank.
The weight of fish that can be safely transported in a tank depends on the efficiency of the aeration system, duration of the transport, water temperature, fish size and fish species.
If environmental conditions are constant, the carrying capacity of a transport unit depends upon fish size. It has been suggested that the maximum permissible weight of trout in a given tank is directly proportional to their length. Thus, if a tank can safely hold 50 kg of 5 cm trout, it could hold 100 kg of 10 cm trout, and 150 kg of 15 cm trout (Piper et al., 1982).
Reported loading rates for fish vary widely among farms, and maximum carrying capacities of different types of transport units have not been determined.
Some calculations of loading rates for various fish species are presented by Piper et al., (1982). Under ideal conditions, the maximum load of 20–28 cm rainbow trout is 3–3.1 kg/litre of water for 8 to 10 h. Similar loading rates are appropriate for brook, brown, and lake trout of the same size. Channel catfish can be safely transported at loadings presented in Table 17. If the trip exceeds 16 h, it is recommended that a complete water change be made during transport.
Table 17
Weight (in kg) of channel catfish that can be transported per litre of 18°C water (Piper et al., 1982)
| Number of fish (per kg) | Transit period (in h) | ||
| 8 | 12 | 16 | |
| 2 | 0.75 | 0.66 | 0.57 |
| 4 | 0.71 | 0.57 | 0.41 |
| 9 | 0.60 | 0.49 | 0.35 |
| 110 | 0.41 | 0.30 | 0.24 |
| 276 | 0.35 | 0.26 | 0.21 |
| 552 | 0.26 | 0.21 | 0.18 |
| 1 100 | 0.21 | 0.20 | 0.15 |
| 2 200 | 0.15 | 0.12 | 0.08 |
| 22 000 | 0.02 | 0.02 | 0.02 |
The following guidelines may be of value for transporting channel catfish (Piper et al., 1982):
- 0.5 kg of 40 cm channel catfish can be transported per litre of water at 18°C;
- loading rates can be increased by 25% for each 5°C decrease in water temperature, and reduced proportionately for an increase in temperature;
- as fish length increases, the weight of fish per litre of water can be increased proportionally for an increase in temperature. For example, a tank holding 120 g of 10 cm catfish will safely hold 250 g of 20 cm or 500 g of 40 cm fish per litre of water;
- if the transport time exceeds 12 h, the loading rate should be decreased by 25 percent;
- if the transport time exceeds 16 h, loading rates should be decreased by 50 percent or a complete water change should be arranged;
- during the winter, transporting temperature of 7–10°C are preferred, whereas 15–21°C are preferable during summer months.
Table 18 suggests loading rates that have proved successful for northern pike and walleye.
Table 18
Weight (in kg) of northern pike and walleye that can be carried per litre of water at temperatures between 13–18°C (Piper et al., 1982)
| Size of fish (cm) | kg of fish per litre | Transit period (h) |
| 7.6 | 0.15 | 8.0 |
| 5.1 | 0.08 | 8.0 |
| 2.5 | 0.07 | 8.0 |
From the technical point of view, most tanks constructed in recent years are insulated, usually with styrofoam, fiberglass or urethane. Styrofoam and urethane are preferred materials because of their superior insulating qualities and the minimal effect that moisture has on them. A well-insulated tank minimizes the need for elaborate temperature-control systems and small amounts of ice can be used to control the limited heat rises.
Circulation is needed to maintain well-aerated water in all parts of the tank. Transport success is related to tank shape, water circulation pattern, aerator type and other design criteria. Warmwater transport tanks may be compartmented. Compartments facilitate fish stocking at several different sites on a single trip, permit separation of species, and act as baffles to prevent water surges. Tanks in current use have 1 000–2 700 litre capacities, averaging about 1 700 litres. However, 4 500 litre tanks occasionally are used in the USA to transport catchable size catfish, trout and bass (Piper et al., 1982).
Although most tanks presently in use are rectangular, the trend in recent years has been towards elliptical tanks, such as those used to transport milk. This shape has several advantages: V-shaped, elliptical or partially round tanks promote better mixing and recirculation of water as the size of the tank increases. This shape also conforms to a truck chassis and holds the centre of gravity towards the area of greatest strength.
Water circulation systems are of various sizes and designs. Suction lines to the pumps lie on the bottom of the tank and are covered by perforated screens. Water is carried to the pumps and then forced through overhead spray heads mounted above the waterline. In most systems, oxygen is introduced in one of the suction lines just ahead of the pump. This usually is controlled by a medical gas-flow meter; because of the danger involved in handling and transporting bottled oxygen, care must be taken to follow all prescribed safety procedures.
Self-priming pumps powered by gasoline engines are used to circulate water in many transport units. Pumps may be close-coupled or flexibly coupled. Although the former type is more compact, it tends to transfer heat to the water. Depending upon ambient air temperature, close-coupled pumps may increase the temperature of 1 500 litres of water by about 4°C an hour, whereas flexible coupling will reduce heat transfer to approximately 1.7°C per hour (Piper et al., 1982).
A method of circulating water with 12-volt mechanical aerators uses carbon rods and micropore tubing for dispensing oxygen. Aerators alone may not be sufficient to provide the oxygen needed to transport large loads of fish, but a supplemental oxygenation system can increase the carrying capacity of the transport tank. Some advantages of aerator systems over gasoline-driven water pump systems are (Piper et al., 1982):
- Temperature increases from aerators are less than 0.5°C per hour, compared with 1.3°C with pumps;
- aerators and the oxygen injection system can operate independently. There are advantages to carrying small sizes of certain species of fish on oxygen alone. Oxygen also can be used as a temporary backup system if aerators fail;
- usually, aerators have fewer maintenance problems;
- costs of recirculating equipment and aerators strongly favor aerators;
- use of aerators eliminates the space required between the tank and truck cab for pumps and plumbing.
The most efficient tanks have the highest water circulation rates, but circulation rates must be balanced with water capacity. Pumping or aerating systems should be able to circulate at least 40 percent of the tank water per minute when 20–22 cm salmonids are transported, though lesser rates are appropriate for smaller fish (Piper et al., 1982).
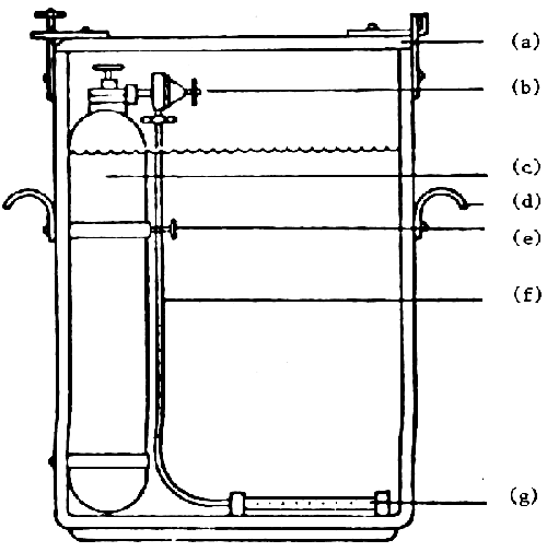
The survey of the technical designs of the open systems of fish transport can be started from a small fish can (Fig. 11), described by Gilev and Krivodanova (1984). Its volume is 39 litres, transport time without replacement of the oxygen cylinder 30 hours, oxygen cylinder capacity 2 litres, full can weight 53.5 kg. The oxygen is conducted from the cylinder into porous distributor installed in can bottom to oxygenate the water with the fish.
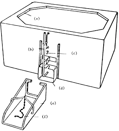
The small transport container for fish fry or for a small number of trout (Vollmann-Schipper, 1975) is similar to the can. Its volume is from 50 to 150 litres, oxygen is conducted from the cylinder into the porous distributor in container bottom (Fig. 12).
Aeration grates connected with separate sources of air, e.g., compressors or oxygen are usually installed in the bottoms of the larger containers (Fig. 13 and 14).
The transport tanks for internal transports inside the fish farm are supplied without the top closure (Fig. 15). Their volume is from 200 to 1 000 litres. A removable gutter is used for releasing the fish through the sluice. Tanks for internal transports, commercially produced by the Ewos Company, are shown in Fig. 16.

Figure 11 Fish fry transport can (Gilev and Krivodanova, 1984)

(a) Removable cover; (b) Reduction valve;
(c) Oxygen tank (5–7 lit.); (d) Handle; (e) Support;
(f) Pressure piping; (g) Aeration device.
Figure 12 Small transport container for fish fry or trout (Vollmann-Schipper, 1975)
Small transport tanks, usually of glass-reinforced plastic, which can be transported in a passenger car are used with success for the transport of small amounts of fish (Fig. 17). The commercial product of Tess Aquaculture Ltd., shown in Fig. 18, is an example of such a tank. The tank has a separate pump, managed from the electrical system in car, with a capacity of 1 800 litres of water/hour; it keeps good oxygen conditions for the fish.
Small amounts of fish can also be transported by passenger-car trailers on which the fish tank is divided into two compartments. The trailer also has a compressed oxygen cylinder. It may also be equipped with a non-traditional tank of plastic foil, suspended on a tubular frame (Fig. 19). The commercial product - a passenger-car trailer for fish transport - of Grice and Young Ltd. is shown in Fig. 20.

(a) pumice-filled tube; (b) ceramic distributors; (c) porous hose.
Figure 13 Aeration grates of transport tanks (Vollmann-Schipper, 1975)

Figure 14 Aeration grate of a transport tank (Vollmann-Schipper, 1975)
Porous PVC hose fitted in a frame corresponding to the size of the tank
Large transport tanks are produced in a great variety of types. The tanks can be equipped with aeration grates, double bottoms, filters and water distributors, separate aerators, thermally insulated walls and the like. Large tanks may have a valve at the bottom for draining the water with mud. The general diagram of these tanks is shown in Fig. 21, i.e., tank with a big sluice, requiring a removable gutter for releasing the fish, and Fig. 22, i.e., tank with an outlet hopper and own discharge hose. The size of the hopper and the hose should be adjusted to the size of fish. The diameter of the hopper and the hose should be 30–40 cm in case of fingerling and 20–30 cm in case of fry, and 50–60 cm for fish larger than 1 kg in weight (Horváth, Tamás and Tölg, 1984).
There is a whole range of commercial producers of these fish transport tanks. Figures 23 to 30 show only some of their products.

(a) Protection against splashing; (b) Draining device with rocking plate; (c) Hook for chain; (d) Protruding collar for attachment of neck; (e) Draining neck; (f) Fixing chain
Figure 15 Tank for internal transport (Vollmann-Schipper, 1975)

Figure 16 Tank for internal transport (product of EWOS). Dimensions: 110 × 65 × 65 cm, volume 400 litres; full top opening with baffle edge

(a) Aeration tube with T- joint; (b) Metal frame (ab. 50 × 60 cm); (c) Perforated plastic pipe
Figure 17 Small tank to be carried in a car (Vollmann-Schipper, 1975). Container volume 100–150 litres; the aeration grate is adjusted to fit the dimensions of the tank

Figure 18 Mini transport tank (product of TESS); dimensions: 80 × 37 × 39 cm; weight 9 kg, pump 12 volts

(a) Flexible cover; (b) PVC - Chamber; (c) Draining tube; (d) Oxygen
Figure 19 Passenger-car trailer for fish transport (Vollmann-Schipper, 1975)

Figure 20 Passenger-car trailer for fish transport (product of GRICE and YOUNG Ltd., England)

Figure 21 Transport tank of volume usually larger than 1 000 litres; F - big sluice; B - value at bottom for water replacement. (a) Tightening handle (Vollmann-Schipper, 1975)
Large tanks used in the USA usually have two compartments with a maximum volume of 2 × 1 m3 (Fig. 31), as described by Okoniewski (1975). Each compartment can be handled separately, or both can be connected, on the other hand, by pulling out the partition. The tank can be equipped with up to six aerators (Fig. 32), three in each compartment.
A transport tank with four compartments is presented in Fig. 33.
These transport tanks are installed on trucks (Fig. 34) and are complemented by life-support equipment (air, gaseous oxygen, liquid oxygen). Separate tanks are useful for transporting several species or sizes of fish. It is recommended to fill the space between tanks with insulating polystyrene foam.
Special single-purpose trucks are also built for fish transport. For instance, Leitritz and Lewis, 1976, Californian fish farmers, use vehicles with four sizes of tanks - 11 400, 5 400, 2 700 and 1 800 litres - for fish distribution (Figures 35–38). All tanks are insulated so that temperatures can be held more constant. The three larger tanks have refrigerating units; ice is used for temperature control in the smallest unit. The newer tank trucks are equipped with a generator so that the refrigerators and water circulating pumps can be run by electricity.

Figure 22 Transport tank with hopper (a) during transport; (b) unloading (Horváth, Tamás and Tölg, 1984)

Figure 23 Transport tanks with 100, 300 and 600-litre volume (EWOS). Standard equipment: one lid with cutting out for a tube for oxygen. The latter two types are equipped with water drawing as well as fittings for mounting
The pumps and refrigerators are driven by separate gasoline engines on other models. The aeration system is generally designed with the water drawn from the bottom of the tank by pumps. It passes through a venturi to inject air into the water and is then sprayed back into the tank over refrigeration coils. The 1 800-litre tanks have small electric pumps at each end of the tank which operate from a heavy-duty truck battery. The water is picked up at the bottom of the tank and sprayed back. This type of tank holds the temperature very constant without refrigeration because the water does not pass through a venturi on the outside of the tank and warm air is drawn from the atmosphere into the water. Some tanks are also supplied with bubbles of oxygen through a carborundum stone from a bottle of compressed oxygen. The fish planting equipment, particularly the larger tank trucks, are complicated and expensive. There should be an operating manual with each piece of equipment.

Figure 24 Transport tank of volume 900 litres, specially made for the transport of eel (EWOS). As a standard, the tank is equipped with a double bottom, under which an air hose can be installed

Figure 25 Transport tank (EWOS). Dimensions 150 × 100 × 85 cm, volume 1 200 litres. The capacity of the tank for short transports of 4–5 hours and with access to water below 10°C is 100–150 kg of fish in good condition. The tank is equipped with a tight-fitting lid. It has a 5 cm drain with a valve and can also be delivered with a protruding collar 20 × 25 cm

Figure 26 Transport tank (EWOS). Dimensions 200 × 100 × 100 cm, volume 2 000 litres. Tank is mainly used for short transports of live rainbow trout but can be used for all kinds of live fish. For rainbow trout it has a capacity of 200–300 kg during day-long transports and a water temperature not exceeding 18°C. As a standard, tank is delivered with a lockable, screened lid and 2 inches valve with inside screen for drainage. Extra equipment: protruding collar 20 × 25 cm or 30 × 40 cm for larger fish; double bottom (installed when air hoses are used); large opening with splash board; top with 2 lids; gutter
Another type of fish transport truck, described by Piper et al., (1982), is presented in Fig. 39.
A small special vehicle for fish transport is shown in Fig. 40. It is a well-equipped system of a ¾-ton heavy-duty truck. The tank is constructed of stainless steel and is divided into two compartments. Quick-release gates and removal chutes permit rapid unloading of the fish. Agitators provide aeration, but compressed oxygen is available for emergencies.
Soviet special vehicles for fish transport are also differentiated as to capacity, the container volume being usually between 2 400 and 4 000 litres. Their detailed descriptions and operation conditions are given by Mackevich and Shiyanov (1984), Pavlov (1973), Kozlov et al., (1977) and Dyagilev (1974). A typical diagram of such vehicles is shown in Fig. 41. The water in the tank is aerated by means of an own compressor; truck engine is used for supplying the air in some types of trucks, or water is oxygenated with gaseous oxygen from pressure bottles. In large-volume tanks partitions are installed to damp water movements during transport. Bigger trucks (volume above 4 000 litres) are also equipped with an aggregate for water cooling; a thermoregulator is used to control this device.
A special truck with a 13 000-litre tank (Barekyan et al., 1975) is used in the USSR for fish shipment, mainly for transporting brood fish to longer distances (Fig. 42). The truck has a powerful ejector device for water aeration, keeping the orientation of the fish during transport. The transport tank is thermally insulated, the space for the fish has the dimensions of 4.2 × 1.4 × 1.6 m. The minimum flow rate of water through the tank for orientating the fish is 0.2 m.s-1.
There are many other specialized fish transport trucks in the world; they include, for instance, fully equipped fish transporters in which the triple-compartment steel tank (2 227 litres) forms an integral part of the special body, mounted on a wheel-base chassis cab unit, for on-off road duties (Fig. 43), or transport vehicle equipped with liquid oxygen (Fig. 44).

Figure 27 Transport tank (EWOS). Dimensions 236 × 108 × 112 cm, volume 2 400 litres. Tank is specially designed for long transports and is therefore built with double walls with a polyurethane foam insulation. For draining, the tank is fitted with a valve with an inside screen; the valve is operated with a knob on the top of the tank. As a standard it also has an outlet gate 20 × 25 cm. The capacity of this tank is about 300–400 kg of rainbow trout depending on the length of the transport, water temperature and water quality. For day-long transports of trout of a size 25–50 g, a load of 150–200 kg can be suitable, providing the water quality is good and the temperature not above 10°C

Figure 28 Transport tanks (STRATIMER, France) work with diffused air, diffused oxygen or mixture. Volumes 150–1 400 litres, insulated linings. Valve for draining the tank

Figure 29 Transport tanks (PUREWELL Ltd. England)

Figure 30 Transport tanks (POLOPLAST; Italy)
For the transport of salmonid fry, US fish farmers use large fish transport trucks (anonym, 1980) which have doubled the previous fish transport capacity (Fig. 45). The system is designed to eliminate the need for recirculating water pumps which increase water temperature and, accordingly, the need for refrigeration systems to control this heat build-up. Instead, it will employ air-lift pumps to recirculate the water using oxygen as the lifting or operating force. The water that is lifted will be injected into filter beds, placed above the main body of water in the tank holding the fish, and then spread throughout the tank so that velocities are minimized and zones of stagnation eliminated. The filter beds control various media to physically remove protein-containing materials; other waste products, such as carbon dioxide and ammonia, either chemically or by absorption. Primary control of the water quality plays an important role. All dissolved nitrogen is removed from the water so that oxygen saturation levels can be elevated by over 2.5 times. The pH is controlled to ensure efficient chemical removal of the carbon dioxide produced by the fish without increasing the ammonia content to toxic levels.
A 20-ton semi-trailer (Fig. 46) is in operation in Great Britain for transporting live fish fry and fingerlings, principally to transport elvers. A maximum of 12 million elvers weighing four tons can be carried on 18 insulated water tanks arranged in pairs down the length of the vehicle. There is a life-support system, which is powered by two diesel engines linked to three-phase alternators. The alternator supplies power to drive the aeration, refrigeration and water-circulation system. Only one diesel engine is required, but in the event of a power shutdown for any reason, the second will start within 30 seconds. The trailer was built for Bristol Channel Fisheries of Gloucester, England (Anon., 1980, 1982). This vehicle was also used to transport 400 000 fingerling eels from England to Hungary, a distance of 3 600 km in 3.5 days. A water temperature of 7°C was maintained throughout the journey by a refrigeration plant in the trailer, and oxygen levels were kept up by cooled compressed air distributed through ceramic diffusers in each tank. The same water was used from start to finish. Exchange of water means exposing the fish to different range of physical and chemical parameters, causing some degree of stress; more important is the possibility of introducing exotic pathogens into the consignment. The life-support systems are duplicated. During a sea crossing the transporter is connected to the ship's three-phase electrical supply.

Figure 31 Diagram of a two-compartment tank (Okoniewski, 1975). 1 - drain opening, 2 - openings for aerators, 3 - separating gate, 4 - tank top, 5 - tank partition, 6 - separating gate

Figure 32 Aeration agitator. 1 - fan to cool the engine, 2 - electric motor, 3 - transmission shaft, 4 - agitator blades, 5 - protecting grid
The system of water aeration or oxygenation still has to be evaluated in detail. Its effectiveness depends on a number of technical and economic conditions. Discussion on these problems has been published by Heiner (1982, 1983), Johnson (1979), Proske (1982), Leis (1978) and others. Air and gaseous oxygen have become traditional ways of conditioning the transport water; nevertheless, the use of liquid oxygen is becoming a more accepted method in transport. Like compressed gaseous oxygen, there is an advantage in avoiding problems with mechanical failure. In addition, the equipment is lighter than for gaseous oxygen and the cost of oxygen is less. Liquified oxygen is packaged in a different container than gaseous oxygen but when it comes out of the container it is transformed into the gaseous state. The release is typically through perforated piping in the tank bottom. Air and oxygen are also used simultaneously for aeration to avoid the consequences of errors in oxygen supply during transport (phenomenon called “burning the fish” during transport which has not yet been fully explained). For this reason some advanced transport trucks such as, for instance, the new transporter produced by German HTT-Fischzuchttechnologie GmbH (Anon., 1984) are equipped with an integral air blower with no danger of “burning” the fish.

Figure 33 Fiberglass transport tank with four compartments, each with an electric aerator (arrow). Additional oxygen is provided through carbon rods or micropore tubing on the bottom of the tank (Piper et al., 1982)


Figure 34 Installation of transport tanks on a truck. The transport capacity of the truck is about 8 000 litres; when the truck is combined with a trailer, the volume of the fish tanks is about 15 000 litres

Figure 35 A 11 400-litre fish transport truck. The water pumps and refrigeration units are operated by electricity which is generated by a diesel-driven unit on the truck (Leitritz and Lewis, 1976)

Figure 36 A 5 400-litre fish transport truck. The water pumps and refrigeration units are powered with gasoline engines (Leitritz and Lewis, 1976)

Figure 37 A 2 700-litre fish transport truck. Electric water pumps and refrigeration units are powered by a gasoline generator (Leitritz and Lewis, 1976)

Figure 38 A 1 800-litre fish planting tank is mounted on a flat-bed pickup truck. It is equipped with a small electric pump at each end of the tank which operates from a generator or a heavy-duty truck battery, and sprays the water to the middle of the tank. It holds the temperature very constant (Leitritz and Lewis, 1976)

Figure 39 Aluminium elliptical tank with refrigeration unit mounted at the front. Aeration is by gas-driven pumps and pure oxygen. Note air scoops (arrow) for CO2 removal on front and rear of tanks (Piper et al., 1982)
Besides the general principles presented in Chapter 2, it is suggested by practical experience that air or oxygen supply should be adjusted already before loading the fish, because later it is practically impossible to change the size of the bubbles. A short time after starting transport, 10–15 m after departure, it is recommended to stop and to check the behaviour of the fish in the tanks. In winter the transported fish are exposed to increased danger: a small amount of water frozen in the oxygen distribution piping or in the fittings may cause the failure of the whole system, however sophisticated it may be.
Water temperature is an important factor of fish transport. General-orientation data on the changes in water temperature in specialized fish transport trucks in dependence on transport time and ambient temperature, evaluated by Leis, Kruzhalina and Dyagilev (1984), are given in Table 19.
Data on the possible densities of fish transported in open systems are scarce in literature. Though Leis (1978) described a calculation method for the oxygen requirement in fish transport, his methodology cannot be widely used in practice because the calculation formulae are very complicated. On the other hand, many authors state that fish consume only a small portion of the oxygen offered (10 percent at the maximum, as asserted by Proske, 1982), so that the calculations of oxygen requirement, based on the amount consumed by the fish, are not reliable. Like in the closed systems, it is also true that the optimum fish densities in transport containers are influenced by a number of factors which should be learned and evaluated by practical experience rather than by theoretical calculation. Most of the authors also recommend to take into account the possibility of delay during the journey which may be up to 24 hours in longer transports.

Figure 40 Small fish transport truck equipped with aerators and oxygen bottle for emergency (Dupree and Huner, 1984)

Figure 41 A transport truck (A) equipped with an aeration system (B) (Mackevich and Shiyanov, 1984) 1 - tank, 2 - perforated air hoses, 3 - air supply, 4 - air supply regulator, 5 - safety valve, 6 - pressure tank for air, 7 - valve for discharging the condensate, 8 - pressure gauge, 9 - check valve, 10 - compressor

Figure 42 Soviet 13 000-litre fish transport truck (Barekyan et al., 1975) 1 - space for the fish transported, 2 - grate wall, 3 - bottom of the fish space, 4 - space for water-air mixing, 5 - ejector, 6 - centrifugal pump, 7 - deflectors, 8 - air-tight sealing of the tank, 9 - engine, 10 - trailer, 11 - towing vehicle

Figure 43 A 2 227-litre fish transporter (BUCKINCHAM VEHICLES Ltd.)

Figure 44 A fish transport vehicle equipped with liquid oxygen supply, oxygen flow valves, agitators, side ramps, and lighting for night hauling (Johnson, 1979)

Figure 45 Fish truck, used in the USA, equipped for water quality control during transport

Figure 46 Semi-trailer used by Bristol Channel Fisheries for transporting live fish
Some guide figures concerning fish transport are given by Horváth, Tamás and Tölg (1984) in Table 20, Proske (1982) in Table 21, and Dupree and Huner (1984) in Table 22.
Exact standards of the densities of transported fish are suggested by Uryn (1971) for the early fry of Coregonus lavaretus and Coregonus albula. Though belonging to the same family, these two species have a markedly different oxygen demand during transport: fry of C. Lavaretus consume 2.4 times more oxygen, on an average, than the fry of C. albula. The calculation is based on the lethal threshold of oxygen (Table 23) and on the intensity of oxygen utilization (Table 24) in each of the two species. The calculation of the transport density standard for the fry can be demonstrated by the following example (the calculation applies to C. lavaretus): planned transport time is 2 h; water at the temperature of 6°C contains 7.5 mg. 1-1 oxygen; at this temperature, the lethal oxygen threshold is 1.50 mg.1-1, and the intensity of oxygen utilization is 3 mg. per 1 000 fry per hour (Tables 23 and 24). Hence, one litre of water contains the following amount of oxygen available to the fry: 7.5-1.5 mg. 1-1 = 6 mg. 1-1. This amount per litre, converted per one hour of transport time, can be utilized by the following amount of fry:
| For | 1 000 | fry, one needs | 3 mg. h-1 oxygen |
| For | x | fry, one has | 6 mg. h-1 oxygen, therefore |
![]() | |||
Transport time is planned to be 2 h; hence, the amount of fry should be divided by two: 2 000 fry : 2 = 1 000 fry ◦ 1-1.
The transport of pike-perch is of a somewhat specialized nature; pike-perch is a species extraordinarily sensitive to any handling. It holds generally that the smaller the fry of pike-perch the better the transport. Vollmann-Schipper (1975) recommends a special container for the transport of pike-perch fry (Fig. 47), equipped with a water-tight cover and aeration; Horváth, Tamás and Tölg (1984), in turn, recommend plastic tanks 80–150 litres (Fig. 48) or 800–1 000 litres in size.
Table 19
The changes in water temperature in specialized trucks having no cooling equipment
| Initial water Temperature | Duration of transport (in h) | ||||
| (°C) | 10 | 20 | 30 | 40 | 50 |
| at ambient air temperature + 5°C | |||||
| 10 | 10 | 9 | 8 | 7 | 7 |
| 15 | 13 | 11 | 9 | 8 | 7 |
| 20 | 16 | 14 | 12 | 10 | 9 |
| 25 | 20 | 16 | 14 | 12 | 10 |
| at ambient air temperature + 15°C | |||||
| 5 | 7 | 9 | 11 | 12 | 13 |
| 10 | 11 | 12 | 13 | 13 | 14 |
| 20 | 19 | 18 | 17 | 17 | 16 |
| 25 | 23 | 21 | 19 | 18 | 17 |
| at ambient air temperature + 25°C | |||||
| 5 | 10 | 14 | 16 | 18 | 20 |
| 10 | 14 | 16 | 18 | 20 | 21 |
| 15 | 17 | 19 | 21 | 22 | 23 |
| 20 | 21 | 22 | 23 | 23 | 24 |
| at ambient air temperature - 5°C | |||||
| 5 | 3 | 1 | - | - | - |
| 10 | 6 | 4 | 2 | - | - |
| 15 | 10 | 6 | 4 | 2 | - |
| 20 | 14 | 9 | 6 | 4 | 2 |
Table 20
Guide numbers for 5–20 h transports of fish with average body weight of 1 000 g with a proper oxygen supply
| Fish species | Amount of fish (kg) in 1 000 liter water at | |||||||
| 0–5 | 5–8 | 8–10 | 10–15 | 15–20 | 20–25 | 25–28 | 30°C | |
| Common carp and tench | 700 | 600 | 450 | 400 | 350 | 280 | 220 | 180 |
| Grass carp | 750 | 650 | 500 | 450 | 400 | 310 | 250 | 200 |
| Silver carp | 300 | 250 | 200 | 150 | 100 | 80 | no suggestion | |
| Bighead carp | 700 | 650 | 500 | 450 | 400 | 300 | 220 | 180 |
| Sheatfish | 800 | 700 | 600 | 500 | 400 | 320 | 250 | 200 |
| Pike-perch | 250 | 200 | 150 | 120 | 100 | 80 | no suggestion | |
Notes:
The amount of water for transport can be calculated by substracting the volume of fish to be transported (with 1 kg/1 litre index) from the total volume of the tank
Data at a temperature value above 15°C refer to fasted fish
Transport guide numbers of fish with 1 000–1 700 g body weight can be increased by 10–15%
Numbers given can be decreased in the following way:
20–30% if the body weight is about 500–1 000 g
30–50% if the body weight is about 200–500 g
50–60% if the body weight is about 100–200 g
60–80% if the body weight is under 100 g
Table 21
Fish weight in kg per 100 litres of water when the transport lasts 4–8 h
| Temperature (°C) | Carp | Rainbow trout | ||||||
| Advanced fry | One-year-old fish | Two-year-old fish | Marketable fish | Advanced fry | Young fish | Marketable fish | ||
| (4 cm) | (8 cm) | (12 cm) | (250 g) | |||||
| 5 | - | 30 | 50 | 70 | 15 | 25 | 30 | 35 |
| 10 | - | 25 | 35 | 50 | 12 | 20 | 25 | 30 |
| 15 | 10 | 20 | 25 | 35 | - | 10 | 15 | 20 |
Table 22
Capacity fish load in kg per 100 litres of water for transport by the tank method with agitators or blower system in hard water at 18°C
| Type of fish and average length (in cm) | Duration of transport (in h) | ||||
| 1 | 6 | 12 | 24 | ||
| Fingerlings | |||||
| 5 | 20 | 15 | 10 | 10 | |
| 20 | 30 | 30 | 20 | 15 | |
| Adult fish | |||||
| 36 | 40 | 40 | 30 | 20 | |
Table 23
Average lethal oxygen threshold for the early fry of Coregonusspp. in function of water temperature (in mg. 1-1)
| Temperature (in °C) | ||||||
| 4 | 6 | 8 | 10 | 12 | 14 | |
| C. lavaretus | 1.3 | 1.5 | 1.5 | 1.7 | 1.7 | 1.8 |
| C. albula | 1.3 | 1.4 | 1.5 | 1.6 | 1.7 | 1.8 |
Table 24
Average oxygen consumption by the fry of Coregonusspp. in function of the water temperature, in milligrams per 1 000 fry per 1 h
| Temperature (in °C) | ||||||
| 4 | 6 | 8 | 10 | 12 | 14 | |
| C. lavaretus | 2.7 | 3.0 | 3.8 | 4.0 | 4.8 | 4.8 |
| C. albula | 1.1 | 1.4 | 1.6 | 1.6 | 1.9 | 2.1 |

(a) Aeration device; (b) Rubber joint; (c) Removable cover; (d) Tightening screw; (e) Outlet valve
Figure 47 Specialized tank for pike-perch transport (Vollmann-Schipper, 1975)

Figure 48 Plastic tank for pike-perch transport (Horváth, Tamás and Tölg, 1984)
Pike-perch get unjured - especially in the eyes - from the movement of water or by bumping into each other. This can be prevented by filling the tank completely with water and installing a valve for gas exchange (Fig. 48). In a hermetically closed tank, oxygen supply stops due to overpressure and the fish die.
Guide data on the transport of pike-perch in tanks are presented in Table 25 according to Horváth, Tamás and Tölg, 1984.
Table 25
Guide numbers for pike-perch transport
| Age group Total length | Duration of transport (in h) | Closed water tank of 120 lit. (100 lit. water + 20 lit. O2) | Closed water tank of 1 200 lit. (1 000 lit. water + 200 lit. O2) | ||||||
| Temperature (in °C) | |||||||||
| 10 | 15 | 20 | 25 | 10 | 15 | 20 | 25 | ||
| Early fry of 6–7 mm (thousand) | 2 | 280 | 180 | 90 | - | 2 000 | 1 000 | 500 | - |
| 5 | 200 | 150 | 60 | - | 1 500 | 800 | 400 | - | |
| 10 | 150 | 90 | 40 | - | 1 200 | 600 | 300 | - | |
| 15 | 120 | 60 | 25 | - | 1 000 | 400 | 200 | - | |
| Advanced fry of 3–5 cm (thousand) | 2 | 15 | 10 | 6 | 2.5 | 180 | 120 | 80 | 25 |
| 5 | 12 | 8 | 4 | 1.6 | 130 | 100 | 50 | 16 | |
| 10 | 8 | 5 | 2.2 | 1.2 | 90 | 60 | 25 | 10 | |
| 15 | 5 | 3 | 1.5 | 0.7 | 50 | 30 | 18 | 7 | |
| One summer fingerlings | 2 | 1 000 | 800 | 600 | - | 10 000 | 8 000 | 5 000 | - |
| 5 | 800 | 600 | 400 | 0 | 8 000 | 6 000 | 4 000 | - | |
| 10 | 600 | 500 | 300 | - | 6 000 | 4 000 | 2 500 | - | |
| 15 | 500 | 400 | 200 | - | 5 000 | 3 000 | 1 500 | - | |
| Two-summer old fish | 2 | 180 | 100 | 60 | 0 | 1 800 | 1 200 | 700 | - |
| 5 | 140 | 70 | 40 | - | 1 500 | 800 | 500 | - | |
| 10 | 100 | 50 | 25 | - | 1 100 | 600 | 300 | - | |
| 15 | 50 | 30 | 15 | - | 600 | 400 | 200 | - | |
Nevertheless, juveniles of pike-perch can also be transported with success in standard tank. Kavalec (1973) commented on the transport of pike-perch fry from Czechoslovakia to Sweden over 1 200 km. The shipment lasted 41–55 h, depending on the place of release in Sweden. The temperature of the water was 7°C and the oxygen content 7 mg. 1-1; air compressors were used to aerate the water. During transport, the oxygen level decreased even to 4 mg. One transport tank containing 2 000 litres of water accommodated 5 000 pike-perch fry 11–14 cm in length; 1 000-litre containers were carried on a trailer pulled by the truck and were stocked with 5 000 9–10 cm pike-perch fry. The fish reached their destination in very good condition.
Shipment by special tank wagons should be mentioned if complete information of fish transport is to be provided. However, this system of fish transport is being abandoned. At present, when highly advanced road transport is available, the disadvantages of railway fish transport have become obvious (usually two transloadings of the fish, a longer transport time); they highly prevail over the possible advantage from the point of view of transport economy.
The diagram of the technical design of the wagon is shown in Fig. 49 and a detail of the aeration system is shown in Fig. 50. The wagon is designed for the transport of 8–12 tons of fish, usually market cyprinids. The amount of fish transported depends on temperature because the wagons usually have no cooling system. In the variant described by Vollmann-Schipper (1975) the dimensions of the tank are 3 × 3 × 1.4 m. Oxygen cylinders are kept as a reserve to replace, in case of failure, the air compressor used during the journey. When the transport time is longer, water is completely replaced in the tank in the marshalling yards. The mad deposited on the bottom is drained from the tanks during the trip. Some experience with the railway transport of different fishes is described by Soviet authors (Smorodinskaya and Khasman, 1973; Orlov, 1975; Kruzhalina, Averina and Vol'nova, 1970; Shevchenko, 1978; Demchenko, 1970).