La glande pituitaire (ou hypophyse) sécrète, accumule et emmagasine l'(les) hormone(s) gonadotrope(s), dont le rôle est décisif dans l'ovulation. En ce qui concerne la reproduction, elle a une fonction d'intermédiaire entre le système nerveux central et les gonades. Le poisson sexuellement mature produit l'(les) hormone(s) gonadotrope(s), dont les variations de concentration dans la glande pituitaire sont liées au cycle de reproduction. Leur concentration est maximum pendant la période précédant le frai, tandis qu'elle est très facile, sinon quasi-nulle, pendant et après le frai. La libération de la (ou des) gonadotrophine(s) par la glande pituitaire est commandée par l'hypothalamus, lequel sécrète à cet effet la GRH (Gonadotropin-Releasing-Hormone). Les gonadotrophines induisent également la migration de la reproduction, au cours de laquelle leur concentration diminue progressivement dans la glande pituitaire. Le développement des glandes sexuelles au cours de la migration de reproduction est très probablement gouvernée par la sécrétion continue de gonadotrophine(s).
La glande pituitaire est située sur la face inférieure du cerveau, exactement sous l'hypothalamus avec lequel elle est reliée par un conduit nommé infundibulum. La partie du crâne où se trouve logée la glande pituitaire est désignée sous le nom de “selle turque”. La glande est généralement enrobée de tissu adipeux. Quand on extirpe le cerveau du crâne des poissons, la glande pituitaire vient parfois en même temps; mais, chez la plupart, l'infundibulum se rompt et la glande reste attachée à la base du crâne. Chez la carpe commune, une petite goutte de sang marque l'endroit où la glande pituitaire est liée au cerveau. L'hypothalamus, au-dessous duquel doit être cherchée la pituitaire, qui fait saillie sur la face ventrale du cerveau, est facile à distinguer.
Le prélèvement des glandes pituitaires à échelle commerciale n'est possible que sur les poissons vivants, ou morts depuis très peu de temps, à condition aussi qu'ils soient d'une taille suffisante (au-dessus de 1 kg) et d'avoir la maturité et le développement gonadal convenables. Les hormones se décomposent rapidement sur les cadavres: aussi, les glandes prélevées sur un poisson mort depuis trop longtemps ne sont pas fiables.
Pour accéder à la glande pituitaire, il faut enlever la partie supérieure du crâne avec une scie à métaux ou un couteau bien affilé, ou bien retirer à l'aide d'une tarière électrique une “carotte” cylindrique contenant l'os crânien, le cerveau et la glande (Fig. 73). Tout en maintenant la tête du poisson serrée dans une sorte d'encoignure de bois, on presse sur le dessus de son crâne une planche percée d'un trou pour guider la tarière. La “carotte” que l'on en retire avec un tournevis contient le haut et la base du crâne, le cerveau et la glande pituitaire, que l'on sépare avec des ciseaux tandis que l'on dégage la glande à l'aide de pinces fines, pour la conserver ensuite dans l'acétone pure.

Figure 68 Confection d'emballages de plastique pour le transport des alevins

Figure 69 Emballage des jeunes poissons en sacs de plastique et conditionnement à l'oxygène

Figure 70 Transport des jeunes poissons en sacs de plastique
![]() |
|
Figure 71a Comptage estimatif des alevins

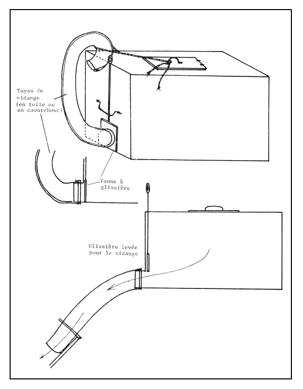
Figure 71b Récipient muni d'un tuyau de vidange utilisé pour le transport des jeunes poissons

Figure 72a Transport de géniteur à longue distance

Figure 72b Systèmes et accessoires divers pour capturer les géniteurs et les transporter à courte distance

Figure 73 Extraction de la glande pituitaire d'un poisson
Cette façon de procéder à la tarière électrique permet de prélever rapidement un grand nombre de glandes pituitaires. Pour être sûr, avec les gros poissons, de bien extraire la glande en même temps que la “carotte” crânienne, on se sert de tarières de plus grand diamètre: 2,5 cm pour ceux de 1 kg, 4,0 cm pour ceux de 3 à 4 kg et 5 à 6 cm pour les plus grands.
Une fois recueilli le nombre de glandes souhaité, on vide le liquide du récipient où elles ont été plongées et l'on y ajoute de l'acétone fraîche, que l'on renouvelle encore huit à douze heures plus tard. Le jour suivant, quand les glandes sont restées 24 heures dans l'acétone, on vide celle-ci et l'on sèche les glandes dans du tissu de papier. L'acétone déshydrate et dégraisse les glandes. Une fois séchées, elles sont mises en flacon dont on comble levide sous un tampon d'ouate propre; puis, après avoir bouché hermétiquement et scellé le flacon à la cire, on y colle une étiquette en y inscrivant la date de l'extraction et l'origine des glandes (Fig. 74).
Les glandes séchées à l'acétone peuvent être conservées plusieurs années à condition de les tenir à l'abri de l'humidité. Même en zones tropicales et subtropicales, on peut les garder au moins 5 à 8 ans sans qu'il soit nécessaire de les mettre en réfrigérateur. Les flacons scellés sont gardés dans un dessicateur, ou simplement en sac de plastique avec un sachet de produit absorbant l'humidité (gel de silice) (Fig. 75). Au fur et à mesure que l'on retire des glandes du flacon, il faut remettre de l'ouate en proportion du volume enlevé et sceller de nouveau le flacon.
Les glandes peuvent aussi être conservées dans l'alcool absolu, où on les plongera alors aussitôt après l'extraction. Au bout de 24 heures, on les lave à l'alcool absolu, puis on les met en flacon avec une solution fraîche d'alcool, on les garde à l'ombre et à la température de la pièce, ou bien, le cas échéant, dans un réfrigérateur. Pour empêcher l'humidité de pénétrer dans les flacons, ceux-ci doivent être scellés à la cire ou gardés en dessicateur.
Une autre méthode de conservation consiste à surgeler les glandes et à les conserver au congélateur.
On peut également utiliser des glandes fraîches aussitôt après leur extraction et préparer une solution d'extrait hypophysaire.
Dans certains pays, on trouve parfois les glandes pituitaires en vente dans le commerce: par exemple, aux Etats-Unis, en Hongrie, en Inde, où elles sont vendues entières sous forme sèche - également en poudre ou même sous forme d'extrait en ampoules de verre prêtes pour les injections, mais qui sont cependant moins fiables, parce que susceptibles d'altération.