4.1 ENTERPRISES VERSUS ACTIVITIES
4.2 ENTERPRISES
4.3 ENTERPRISE AND ACTIVITY BUDGETS
4.4 ACTIVITIES
4.5 FURTHER EXTENSIONS OF ENTERPRISE OR ACTIVITY BUDGETS
4.6 PARTIAL BUDGETING
4.7 CONDITIONAL OR PARAMETRIC BUDGETING
4.8 DO'S AND DONT'S OF ENTERPRISE AND ACTIVITY BUDGETING
4.9 REFERENCES
'Every production of a specific crop on a specific soil type, in a specific season, with a specific husbandry technique, is a distinct activity.'Hans Ruthenberg (1976)
Structurally, a farm enterprise is a set of input-output relationships involving input resources which are used to generate one or more final products. Such products are 'final' in that they are suitable for consumption on or sale off the farm (beyond which point they might or might not be further processed). Enterprises are subsystems and comprise the main structural building blocks of farm-household systems.1 They are designated by their main product: e.g., a farm growing coconuts and paddy operates coconut and rice enterprises. The main enterprise categories are field crops, intensive-horticulture crops, tree crops, aquaculture and livestock.
1 In industrial and commercial economics, 'enterprise' is generally used to refer to a whole economic entity or system (e.g., plant, factory, store) rather than to any of its individual subsystems.
In everyday language, the terms 'enterprise' and 'activity' are often used interchangeably. In technical usage, however, these terms have quite distinct meanings. There are two reasons for this.
First, in systems analysis, many 'enterprises', if they are to be analysed as systems, must be broken down into subsystems. 'Coconut enterprise' is a good enough description if it refers to growing and selling coconuts; but if it includes selling some nuts, making coir from the husks of others, making and selling yam from this coir, and making and selling charcoal from the coconut shells etc., it will obviously be necessary to differentiate among these various subsystems of the coconut enterprise (Figure 5.5). This is best done by referring to all coconut-based subsystems in aggregate as an enterprise, and to each respective subsystem as a separate activity. Clearly, selling fresh coconuts will involve different resource inputs, product outputs and management problems than spinning coconut-husk yam. Thus a particular farm enterprise may involve one or more activities.
Second, some planning methods in farm-system analysis and construction (e.g., budgeting and linear programming) require that the alternative tactics or technologies which can be used in the production of some resource or final product be specified. To take a very simple example, production of one hectare of paddy might require 100 kg of cattle manure or its equivalent as fertilizer. If the farmer has no manure, possible alternative tactics for obtaining it might be for him or her to buy NPK fertilizer, or to exchange labour with a neighbour for the needed manure, or to grow a green manure crop in the future paddy field, or to buy a cow. These alternative tactics (or any particular mixture of them) are each different activities which might be used to the same end of producing paddy. An important aspect of farm planning is thus to determine which technological activity or activities might best be used within each enterprise.
There are three ways in which 'activity' may be used as a technical term relative to the hierarchy of agricultural systems of Figure 1.2. These are: (i) to refer to a particular technology or process used at Order Level 1 or 2 in the farm system; (ii) to refer to a resource-generating subsystem of Order Level 3 in the farm system; and (iii) to distinguish at Order Levels 4 and 6 (a) a particular method of producing the product of an enterprise from other methods of producing the same product or (b) the production of a particular product in an enterprise which has a variety of possible products. In general, which meaning should be given to the term 'activity' will be apparent from the context. Most often it will have the enterprise-related meaning pertinent to systems of Order Levels 4 and 6. Fuller consideration of the various types of activities relevant to the planning of farm systems is given in Section 9.3.1.
4.2.1 Enterprise boundaries
4.2.2 Enterprise structural types
As noted above, an enterprise consists of a farm subsystem aimed at the output of final product. It may involve one or more activities in terms of the technologies used and the form of the final product.
For farm management systems analysis in all Modes (as defined in Section 2.1.8), an essential property of enterprises is that they be possible of identification and disaggregation from the whole-farm system context in which they occur, i.e. that their boundaries be defined and that their input-output relationships be measurable. Where the enterprises already exist as part of a mixed farm system this proceeds by the three sequential steps of: (i) examining the farm system to identify the main commodities being produced; (ii) identifying the resources used in relation to each commodity; and (iii) identifying and quantifying enterprise input-output relationships in the form of an enterprise budget table as outlined in Section 4.3 below.
In terms of their structure, enterprises may be broadly categorized as simple, composite or complex.
A simple enterprise is one which can be readily identified within and disaggregated from a whole-farm system. The extreme case is found on mono-crop estates and single-enterprise farms (e.g., Sri Lankan tea estates, Singaporean pig farms) where the enterprise subsystem is practically equivalent to the whole-farm system. Only slightly more difficult to identify/disaggregate/quantify are the buckwheat and apple enterprises on small Himalayan hill farms; but the disaggregation of, e.g., cotton/wheat/paddy/livestock enterprises on a mixed Sind farm is usually more difficult because of the structural interrelationships among enterprises.
A composite enterprise is one which aggregates what structurally or logically should be considered as two or more different enterprise subsystems into a single composite enterprise for one of two reasons - the practical difficulties of disaggregation, or the fact that the work involved in disaggregation might not be warranted for the purpose at hand. An example would be the 'livestock' component of a typical Peshawar mixed farm where the livestock could consist of two cows (for milk, butter, ghee, cheese sale and/or consumption), two oxen for ploughing (but sometimes rented out), three young sale cattle, one camel and three donkeys for transport, six sheep for wool (to be sold or spun) and five goats for milk and meat. All these classes of stock would usually be run/pastured together most of the year, none receiving any special treatment. While the different classes of stock can be readily identified, it would be very difficult indeed to disaggregate them into seven separate livestock enterprises, i.e., to define meaningful boundaries for each livestock species subsystem. For most planning purposes they could be regarded as a single composite 'livestock' enterprise.
A similar situation arises on the intensive vegetable farms in the mountain zones of Java, where five, six, seven ... vegetable species occupy the same field simultaneously, some directly dependent on others for shade, wind protection or live trellis support, and where each relay of each crop is partly dependent on previous relays for residual fertilizer and pest reduction. It is very difficult to disaggregate the species into separate bean, maize, sweet potato ... enterprises. Possibly the most difficult of all systems to disaggregate are the highly mixed forest-gardens of the wet tropics, partly because the mix of 15 or more species is continuously changing (McConnell 1992).
A complex enterprise is one in which there is more than one important product and where there is some considerable degree of cycling of resources within the same enterprise, usually via the farm resource pool. This is common in traditional agriculture as exemplified in Figures 2.4 and 2.5. By comparison, most enterprises on modem commercial farms are structurally simple. Using wheat production as an example, the situations are compared in Figure 4.1.
As shown on the righthand side of Figure 4.1, on modem commercial farms most resources are typically purchased, wheat is often grown as a sole crop for grain which is sold, and that is the end of the matter. On the other hand, in the traditional Asian situation, wheat is usually combined with several other enterprises and most resources are farm-generated. Thus, in the lefthand-side example of Figure 4.1, wheat both uses and produces some of its resources (retained seed and stockfeed cycled as oxpower and manure fertilizer). The enterprise has several products: grain (for family sustenance, sale and farm use), retained seed, bhoosa (straw, some of which might be sold for use in brickmaking and some retained for use as livestock feed/bedding), and stubble which will be used or sold to other villagers as grazing. In addition, the enterprise might provide the basis for kitchen-scale food processing/marketing activities. Figure 4.1 clearly illustrates the complexity of what at first glance might seem a fairly simple enterprise.
4.3.1 Budget types and purpose
4.3.2 Budget standardization: units of measurement
4.3.3 Level of budget detail
4.3.4 Unit budgets
4.3.5 Extending budget scope: processing and marketing
4.3.6 Economic and financial budgets
4.3.7 Real and imputed input costs and output values
4.3.8 Budget-based measures of performance
4.3.9 Extension of enterprise or activity budgets to whole-farm budgets
4.3.10 Extension of whole-farm budgets to the household
4.3.11 Cost of production
An enterprise or activity is defined and quantified in terms of a budget table (as illustrated by Table 4.1) which, relative to some specific time span, defines the boundaries of the subsystem. A budget is essentially a listing of all resource inputs to an enterprise or activity and their costs, and all outputs and their values, both inputs and outputs being measured over some specified time period (Barnard and Nix 1973, Ch. 14; Brown 1979, Chs 2 and 3; Makeham and Malcolm 1986, Chs 8 and 9; Upton 1987, Ch. 14). As appropriate, a budget can also show the difference between total costs and returns which is enterprise net return or, if no allowance is made for fixed costs, enterprise gross margin (as discussed in Section 4.3.8). The time span to which the budget refers needs always to be specified and borne in mind. This period of time may be the production period of the output involved or some other period such as an annual cycle.
FIGURE 4.1 - Comparative Structure of Traditional and Modern Wheat Enterprises
From a time perspective there are three kinds of budgets pertinent to enterprises and activities:
· Planning budgets are forward-looking projections of the resources which will be required to obtain some anticipated outcome. They are prepared as a basis for formulating an activity, enterprise or whole-farm production plan, usually for the next crop or seasonal or annual phase (if it is a long-term activity). They are concerned with what should happen.· Control budgets are used to maintain a current check on and adjust resource supplies to an enterprise or activity once it is in operation, i.e., once the planning budget has been activated. They are not used on small farms but are an important management tool on estates. Usually they take only a financial form and are designed to control fiscal expenditure in the activity or enterprise. The degree of control can be very high: e.g., on Malaysian and Sri Lankan rubber, tea, oil-palm and coconut estates the daily-prepared control budget can show on any day of the operating year the amount of money spent on and the amount and value of product harvested from the enterprise, down to practically the last cent and kilogram. Control budgets are used for these and other continuous activities (such as on orchid, dairy, pig and poultry farms). Obviously, the shorter the production phase, the less need there is for budget control.
· Evaluation budgets are backward-looking summations of what did happen. They are essentially accounting documents intended to measure the past performance of an activity or enterprise over some period, usually the prior phase. They are better referred to as operating statements because they state with certitude the facts they contain (inputs, outputs etc.). These might be intended only to offer an accounting of past results or, more analytically, to allow diagnosis of weaknesses within the system (or subsystem) and prescription of remedial action (Chapter 7).
TABLE 4.1 - Example of an Enterprise Planning Budget: Inputs, Costs and Returns for 2.5 Acres of Dryland Ginger in the Wet Zone of Sri Lankaa
|
Input |
Real level (per 2.5 acres) |
Per acre or unit level |
|||
| Labourb | |||||
|
Operation |
Timing |
|
Labour days |
Family or hired |
Labour days |
|
Clear land |
Mar |
|
25 |
F |
10 |
|
Clean drains |
Mar |
|
38 |
F |
15 |
|
1st fork |
Mar |
|
125 |
H |
50 |
|
2nd fork |
Mar |
|
88 |
H |
35 |
|
3rd fork, smooth |
Apr |
|
63 |
H |
25 |
|
Line for planting |
Apr |
|
5 |
F |
2 |
|
Hole, plant, mulch |
Apr |
|
38 |
F |
15 |
|
Fertilize |
Apr |
|
5 |
F |
2 |
|
Weed once |
May |
|
25 |
F |
10 |
|
Fertilize |
Jul |
|
5 |
F |
2 |
|
Weed twice |
Jul |
|
40 |
F |
16 |
|
Guard |
Dec-Jan |
|
75 |
F |
30 |
|
Harvest |
Jan |
|
40 |
H |
16 |
|
Total family labour |
|
|
256 |
|
102 |
|
Total hired labour |
|
|
316 |
Rs 3 160 |
Rs 1 264 |
| Materials | |||||
|
Item |
|
Amount |
Price |
Cost |
Cost |
|
Seed |
Mar-Apr |
1 635 kg |
Rs 5.90/kg |
Rs 9 647 |
Rs 3 859 |
|
Tools |
Mar-Apr |
|
|
63 |
25 |
|
Watcher's hut |
Mar-Apr |
|
|
25 |
10 |
|
Fertilizer |
Jul |
340 kg |
Rs 1.60/kg |
544 |
218 |
|
Straw mulch |
Jul |
3 750 bundles |
Rs 0.10/bundle |
375 |
150 |
|
Crop storage |
Jan |
(already exists on farm) |
|
0 |
0 |
|
Transport |
Jan |
|
|
63 |
25 |
|
Market sacks |
Jan |
|
|
250 |
100 |
|
Total materials |
|
|
|
Rs 10 967 |
Rs 4 387 |
|
Total all costsc |
|
|
|
Rs 14 127 |
Rs 5 651 |
|
Output |
|
|
|
|
|
|
Clean ginger |
|
6 825 kg |
Rs 4.50/kg |
Rs 30 713 |
Rs 12 285 |
|
Gross margin |
|
|
|
Rs 16 586 |
Rs 6 634 |
a Constructed in February 1993 for the production period March 1993 to January 1994.b Days are in AME.
c For purposes of later analysis related to Figure 4.5, note that these total costs are all variable costs. There are no fixed costs pertinent to this particular budget formulation.
Feedback
The use of evaluation budgets for diagnostic purposes implies feedback from evaluation to planning budgets: adjustments to the system made on the basis of the former will occur via the planning budget prepared for the next operating phase. Even if there are no weaknesses to correct, the actual enterprise outcome will seldom be exactly as predicted in the planning budget. Referring to Table 4.1, hired labour actually used might be 270 rather than 316 days and actual achieved yield might be 6 270 rather than 6 825 kg. These results would now flow back as guides to hopefully more accurate updated estimates in the next planning budget.
Data content
In addition to summarizing likely enterprise or activity results, planning budgets are primarily concerned with identifying those resources and other factors which might limit or constrain production. Accordingly, in constructing them, it should be kept in mind that what might be apparently unimportant outputs (by-products) of one system might be critical inputs to another (especially on Type 1 and 2 farms, as discussed in Chapter 9 and illustrated in Figures 2.4 and 2.5).
In control budgets the most important and often the sole data recorded might relate to flows of finance to the activity or enterprise; alternatively, the critical factor to control might be labour, or in an irrigated desert environment it might be water. Control budgets are not further discussed.
The basic data content of an evaluation budget depends on analytical circumstances, specifically the operating objectives of the enterprise or farm (Chapter 6). If this is profit maximization, financial data alone will enable the evaluation; but if the objective is subsistence food production, the data will relate to resource inputs (mainly labour) in comparison with food outputs. But while either of these might be sufficient for only an accounting of what did happen, they would in themselves be practically useless if the analysis was in diagnostic mode. Evaluation budgets in this mode have the most extensive and detailed data requirements. These are discussed in general terms in the remainder of this chapter and are applied in examples of systems' comparative analysis in Chapter 7.
Hazards
The different types of budgets and their purposes will be clear enough. But budgets are not always what they seem. On one group of commercial farms it was routine office practice, until recently, to propose planning budgets for each enterprise in the approved way but then, at the operational stage, as the need arose, to allocate cash which had been budgeted for the wheat to the sheep, fertilizer budgeted for the pyrethrum to the wheat etc. In consequence, at the end-of-year evaluation stage, all that could be said was that some total amount of cash, fertilizer, labour etc. had disappeared somewhere into the farm, but as to the economics of the individual subsystems, or whether uneconomic enterprises should be curtailed or replaced by more efficient ones ... 'O God I know not'.
For some purposes and modes of analysis (e.g., description), the budget might be specified at real level (i.e., at the actual levels of the input and output variables) and refer to the enterprise as it actually exists. But for most planning and evaluation purposes, since - e.g. - 2.5 acres of ginger cannot be directly compared with 1.9 hectares of paddy, it will be necessary to standardize the various enterprise or activity budgets by bringing them to a per acre or other unit level as in the righthand column of Table 4.1. Further, for purposes of comparison between enterprises or activities, these unit-level budgets must also refer to a common time basis such as, e.g., per hectare per year.
Use of land area as the basis for standardizing crop and livestock budgets is not always appropriate or possible. The most appropriate standard unit to use will depend on the category to which the enterprise or activity belongs and the particular farm type/situation. Most field-crop and tree-crop budgets will in fact usually most appropriately be on a land-unit basis. So will budgets for the horticultural crops on large farms. But for small farms growing tree or vine crops and some horticultural crops (anthurium flowers in Sri Lanka, vanilla in Java), a more appropriate budget basis might be costs and returns per 100 plants or even per single tree (as for the houseyard farms of Java growing three or four high-value clove trees).
Further, in the wet tropics the tree crops in particular are often grown in highly mixed stands: a forest-garden farm in Kerala or in Java might consist of six coconut palms, two breadfruit, three jackfruit, four coffee trees, three pepper vines, etc. These species-enterprises would be best budgeted/evaluated on a per tree or per vine basis (or for some purposes these various species might be consolidated into a single composite enterprise budget).
In other situations, even though a species might be present in large numbers as part of the whole of a farm system, it might be grown/managed/exploited without any regard to the land area it occupies - as in the case of nipah palms along the rivers of Trengganu, sago palms on village lands in Irian Jaya and palmyrah palms in the dry zone of Sri Lanka. Perhaps the extreme case is found in Kordofan where the baobab trees, each of which is the property of some family or clan and an important basis of their semi-nomadic existence, might be scattered along the clan's seasonal migration routes over a distance of 600 kilometres or so. Budgets for these and similar tree-crop enterprises could obviously not be expressed on a unit of land area basis; more appropriate would be inputs/outputs per family, or, since labour is a common factor in their control or exploitation, per labour day of effort expended in maintaining or exploiting some specified number of trees.
Livestock enterprises can present special problems in preparing standardized budgets for purposes of comparison. In some cases it will be possible to construct budgets for dairy cows, sheep etc. on a 'per hectare of land use' basis; but the yak herders of Haa and the camel people of Wajir would not have the slightest idea of the number of hectares over which they range.
Highly-mixed sedentary herds/flocks, as found in parts of Pakistan and North India, require standardization of two kinds (assuming they can be disaggregated). First, the separate species (cattle, camels, sheep etc.) and classes of each species have to be standardized in terms of some common animal unit (AU) basis2 and then, as discussed above, the budgets for each of these (standardized) species-enterprises might have to be compared on the basis of some common input or production factor (such as land or labour or cash required or generated etc.).
2 In the following example, a farm's herd of five head of mixed cattle and a flock of 16 head of sheep are each standardized (on the basis of approximate feed requirements) by taking one lactating cow as equivalent to one animal unit (AU). Each other type of animal is then expressed as AU relative to a lactating cow, for example:
|
Cattle |
Equivalence Factor |
Sheep |
Equivalence Factor |
|
milk cow |
1.0 AU |
all types |
0.15 AU |
|
ox |
0.9 AU |
|
|
|
calves |
0.3 AU |
|
|
Population equivalence in AU:cows: 2 head x 1.0 AU = 2.0 AU
oxen: 2 head x 0.9 AU = 1.8 AU
calves: 1 head x 0.3 AU = 0.3 AU
Total cattle in AU: = 4.1 AU
sheep: 16 head x 0.15 = 2.4 AU
Total cattle and sheep in AU = 4.1 + 2.4 = 6.5 AU.It is important to note, however, that from a farm management as opposed to an animal nutrition point of view, it may sometimes be more relevant to standardize livestock on some such basis as labour required by each species/type, or cash inputs required by each, etc. The above nutrition-based equivalence factors are for purposes of illustration only.
Long-term crop and livestock enterprises require a somewhat different approach in budgeting.
· Evaluation budgets of long-term enterprises (or activities) are usually prepared on an annual or seasonal basis and relate to the performance of the enterprise over its most recent operating phase. These single-phase budgets are the same as budgets prepared for short-term enterprises (or activities) and ignore what might have happened to the enterprise in earlier phases and what might happen to it in future phases.· Planning budgets of long-term enterprises (or activities) are a different matter. Here the inputs/outputs of the enterprise (or activity) must usually be specified for each year of its future life - over 20 to 25 years for coffee, 20 to 40 years for cardamom, 60 to 70 years for coconut, etc. Methods for doing this are discussed in Section 10.11.
The necessary degree of detail in a budget is determined by the mode and purpose of analysis. Thus Table 4.1 would probably be adequate for descriptive purposes and for planning purposes, but too detailed for accounting evaluation and too vague for diagnostic purposes.
Table 4.1 offers much information relating to labour: jobs to be done, monthly timing of operations, whether family or hired. This might or might not be necessary for planning. On the other hand, the budget says nothing about the type or quality of labour to be employed. Are these workers to be men, women or children?...or do the various tasks specifically require women or men? This would be important on an estate; or if the budget referred to a crop such as coffee requiring school children as harvesters. Regarding yield, 6 825 kg of good ginger is projected to be produced, but how much sub-standard ginger will also be obtained?... and would this be enough to provide a basis for a small kitchen-scale oil extraction activity?
Explicit and implicit information
In addition to offering explicit information, a budget should be amenable to implicit extension. Such measures as activity gross margin should permit derivation of further, more detailed measures: gross margin per hectare, per day of family labour, per Rs 100 of operating capital etc. This is essential in comparative analysis (Chapter 7).
In order to apply some important planning methods (e.g., linear programming, Section 9.6), Table 4.1 contains too much information and is too awkward to be used directly. For such purposes, unit-vector budgets are needed. These are simplified, stripped-down versions of a budget such as that of Table 4.1 from which the following unit-vector budget for ginger has been developed:
|
Identification: |
|||
|
|
Date: |
Feb. 93 |
|
|
|
Crop: |
Ginger |
|
|
|
Level: |
One acre |
|
|
|
Production period: |
11 months, Mar. 93 to Jan. 94 |
|
|
Gross margin: |
6 634 Rs |
||
|
Resource requirements: |
|||
|
|
Land |
1 acre |
|
|
|
Family labour |
|
|
|
|
|
Mar. |
25 AME |
|
|
|
Apr. |
19 AME |
|
|
|
May |
10 AME |
|
|
|
Jul. |
18 AME |
|
|
|
Dec.-Jan. |
30 AME |
|
|
Operating capital |
|
|
|
|
|
Mar.-Apr. |
4 995 Rs |
|
|
|
Jul. |
369 Rs |
|
|
|
Jan. |
287 Rs |
|
|
Other |
|
|
|
|
|
Storage |
1 acre equivalent |
In the above unit budget, the inputs of Table 4.1 are consolidated under the headings 'land', 'family labour', 'operating capital' and 'other'. Labour and capital are given a time-dimension (for reasons discussed previously). Also, all information relating to costs versus returns is now consolidated into a single item 'gross margin Rs 6 634', i.e., no separate cost or return items are shown. Information relating to some items, e.g., hired labour, is now discarded because item-specific costs have been consolidated in the single gross margin item.
All other data of Table 4.1 are now discarded (but of course they would not be discarded if the purpose were detailed post-production evaluation rather than planning). On the other hand, some resources which might only have been implied in Table 4.1 might now become important. Ginger storage was listed in Table 4.1 but not the amount or quality of storage needed. If it is possible that these aspects of storage could prove limiting factors to future or expanded production, they would be entered as explicit resources in the unit-vector budget. Use of this type of budget in farm planning is illustrated in Chapter 9.
In the conventional pre-systems approach to farm management, analysis was largely restricted to field production operations; the post-harvest aspects of an enterprise such as on-farm storage, kitchen processing, family consumption, transport and disposal of commodities beyond the farm gate were regarded as falling within the province of specialists in other fields - marketing experts, processing engineers, family nutritionists etc. Such a compartmentalized approach is possibly appropriate on those farm types where products are simply sold off the farm, e.g., sugarcane to a mill or raw milk to a bottling plant. However, as emphasized in Chapter 2, such a level of structural simplicity is rare on small mixed Asian farms where products and by-products are used and disposed of in many different ways. Here, to define the boundaries of an enterprise as encompassing only field production operations would be quite inadequate. On Type 2 (semi-subsistence) farms it would tell only half the story and on Type 1 (subsistence-oriented) farms only a fraction of it. More specifically, it would overlook the possibilities for household income generation through on-farm or kitchen processing and local marketing, and at village level of establishing cottage industries; moreover, where agricultural resources are already exploited to their potential, local further processing of crop outputs often offers greater scope for rural development than does farm development per se. A Bhutanese farm wife making corn cakes in her kitchen and selling them around the streets of Tashigang is as important a component of the farm's corn enterprise as her husband's corn-growing activity. In this hill country, too, it is not unusual to come across a group of farmers who have each carried out a sack of oranges or potatoes to the nearest road, maybe walking for two or three days, in the hope of selling them. Farm production problems become rather irrelevant. The people know these things; why not the universities?
Clearly, under these 'beyond-the-field' circumstances - and they are often the norm not the exception - if an enterprise is not to lose its 'pith and moment', a systems approach to farming and farm development is called for. But while systems concepts are increasingly accepted, their actual application in farm development projects is not remarkable. It remains at best a field in which the coconuts have only nodding acquaintance with the pineapples and the carp or tilapia, and at worst an arena in which the 'two and forty jarring sects confute'.
Flowcharts
As an aid in understanding the often complicated post-harvest flows of products and byproducts from an enterprise, a useful first step is to sketch them before attempting to incorporate their main elements into a budget. An example is shown in the flowchart of Figure 4.2 for post-harvested paddy on a small Type 2 farm in Bhutan. The chart emphasizes those portions of the paddy crop retained for family use; quantities are not indicated.
FIGURE 4.2 Example of a Flowchart: Post-harvest Handling and Disposal of a Paddy Crop, Bhutan
Source: Data from a survey by Nim Dorji and the senior author, Thimpu, 1988.
Table 4.1 is an economic budget. As a planning budget, it lists all the planned inputs and outputs and their values whether or not these will incur actual out-of-pocket costs or will yield actual cash receipts.
For some purposes a financial budget will be required. This is an edited version of an economic budget which lists only actual financial outgoings (or costs) and income (or returns). For example, in Table 4.1 if the seed is to be retained from the previous crop and the tools are on hand, these economic 'costs' would now be excluded. Similarly if the cost of the watcher's hut in Table 4.1 is based on providing an annual depreciation amount for this capital item and is not an actual cash outlay, this also would be excluded from the financial budget.
On commercial farms, since all or most inputs are bought and outputs sold, economic and financial budgets are practically equivalent (except that non-cash charges such as depreciation are excluded from the latter). At the other extreme, on Type 1 farms there will be few if any purchased inputs and few sold outputs so that financial budgets are hardly relevant.
In a non-commercial environment and where no actual markets exist for inputs or outputs, their values must be imputed. In Table 4.1 straw was valued at 10 cents per bundle. If the farm had not actually bought the straw this might be based on an estimate of what it was worth if used on some other crop (such as mushrooms) or what the farmer could have earned by working for a neighbour instead of staying home bundling straw for his ginger.
Usually the most important economic input is family labour. In Table 4.1 the 256 days of family labour cost nothing in terms of cash outlay and the enterprise gross margin is Rs 16 586. This conveys an accurate picture only if family labour in fact has no value; but if some realistic value for family labour could be imputed (e.g., by what it could earn off the farm or from the farm's roadside boutique) then Table 4.1 conveys a false picture of ginger economics: e.g., if family labour had a real value or opportunity cost of Rs 10 per day, the gross margin would be decreased by Rs 2 560.
On Type 1 and 2 farms there is often no reference point for the valuation of resources. In consequence, deciding on an appropriate opportunity cost or shadow price for labour, oxen, buildings etc. can be quite subjective. The facts alleged in a budget relating to subsistence-oriented farming, whether for a single farm or for the sector as a whole, will often not stand their ground. This is especially so in Fields C (i.e., sectoral development) and D (i.e., advice for policy making), and not infrequently - sad to say - the 'economies' of an enterprise (or farm or industry based upon it) are nudged up or down to serve a non-objective purpose.
Depending on the purpose of analysis there are four ways in which an enterprise (or activity) can be evaluated, or four measures of economic performance which can be applied3: enterprise net return (NR), gross margin (GM), operational gross margin (OGM or 'activity price') and cost of production (COP). NR, GM and OGM are outlined in this section. COP is discussed in Section 4.3.11 below.
3 With appropriate modifications to their calculation, the measures of performance outlined here can also be applied on a whole-farm basis. Such applications and extensions to calculate total productivity measures are presented in Sections 7.2.1, 3 and 5.
Net return
Net return (NR) is the most appropriate measure if the purpose is an accounting evaluation of past or future projected performance. It is obtained as NR = TGR - TC where TGR, total gross return of the enterprise, is the sum of all outputs times their prices, real or imputed, and TC is total enterprise cost, again real or imputed. TGR needs no further discussion.
TC consists of two components, total variable cost (TVC) and total fixed cost (TFC). Variable costs (VC) are those of input items the amounts of which change (usually but not necessarily proportionally) with the size or level of output of the enterprise: the labour, seed, fertilizer, etc. of Table 4.1 are examples. Fixed costs (FC) are those of input items, usually services rather than physical things, which remain constant regardless of the size or level of enterprise output: taxes on a barn used to store grain or other produce, the interest costs on an irrigation system, a depreciation amount set aside to eventually replace a cocoa dryer are examples. Fixed costs are further discussed in relation to whole-farm systems in Sections 5.3 and 4.
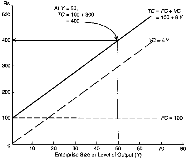
The relationships between level of output and fixed, variable and total costs are exemplified in Figure 4.3. With zero output, variable costs are also zero, but increase as output or size of the enterprise is increased. Fixed costs are constant throughout (but some activities or enterprises will in fact incur no fixed costs). TC at any point over the output range is simply the sum of VC and FC; here, in this particular example, at an output level of 50 units, they are Rs 300 + 100 = Rs 400. Note that while VC will always increase (i.e., slope upwards) as Y increases, the relationship between them need not be linear. This is in contrast to FC which will always be linear and parallel to the Y or output axis for a given configuration of the production system.
FIGURE 4.3 - Example of Relationships between Level of Output and Fixed Costs, Variable Costs and Total Costs
Gross margin
Gross margin (GM) is the most appropriate measure of enterprise performance if the purpose is an operational rather than accounting one, e.g., to make rapid comparisons among three, four, five ... enterprises with a view to expanding some or contracting others. Gross margin is obtained as total gross returns less variable costs, GM = TGR - VC, i.e., fixed costs are ignored since, by their nature, they have to be met whatever is produced (and even if nothing is produced). Justification for this is based on the fact that, by definition, farm fixed capital (ploughs, work oxen, irrigation, etc.) can usually be used by alternative crops; if it is currently used for cotton and cotton prices drop, the farmer will want to evaluate the possibilities of alternative crops - corn, sesame etc. In the short run he or she is stuck with whatever supply of fixed capital is on hand and can budget out the alternatives by considering only those input items which will change if he or she adjusts from cotton to wheat or sesame. This would be an application of partial budgeting (as outlined in Section 4.6).
Operational gross margin
Operational gross margin (OGM) is somewhat equivalent to net return. OGM = TGR - DC, where DC is enterprise direct costs and consists of variable and fixed components. The difference is only one of emphasis; the DC of an enterprise consists of all costs directly associated with that enterprise, usually calculated on a per unit of enterprise basis (per hectare, per head of livestock, etc.). The DC of an enterprise thus consists of its variable costs plus some proportion of the farm's fixed costs which should logically be borne by the enterprise. The concept of DC is a piece of terminology used with linear programming (Section 9.6). An example is discussed in situation (d) of Table 4.2 below.
Assignment between fixed and variable costs
The assignment of input items to the fixed or variable categories of enterprise total costs will usually present no problems. However, some items do not fall naturally into one or other category. Whether they should be put in the fixed or variable baskets will depend on circumstances. Four situations are shown in the budgets for a ginger enterprise in (a), (b), (c) and (d) of Table 4.2.
Situation (a) is taken directly from Table 4.1. There are no storage costs, variable or fixed, and no other fixed costs, thus net returns of Rs 16 586 are the same as gross margin. In situation (b) the enterprise budget now contains a storage cost of Rs 500. This consists of taxes paid on the storage shed which remain constant regardless of how much ginger is stored or grown. It is thus included as a fixed cost. In situation (c), at a cost of Rs 400, the farmer instead now rents storage on a cost per cubic unit basis; thus ginger storage is here a variable cost because if yield was twice as high or twice as many acres of ginger were to be grown, twice as much storage would be needed and its cost would be twice as much.
Situation (c) is also different in that where previously hired labour was a variable input of 316 days times Rs 10 per day, labour is now not casual but permanently attached to the household and must be paid (at Rs 10 per day) regardless of how much ginger is grown or its yield. Thus in (c), labour becomes a fixed cost to ginger. (This assumes that ginger is the only crop on the farm: if there were other crops, the fixed labour costs would be shared among them.) This is offered as a caution that some costs do not, simply because of their nature, always belong in either of the fixed or variable categories. An important variation of this occurs on estates where the resident labour force incurs both variable costs (a daily wage) and fixed costs (housing, clinic, worker insurance, retirement fund etc.).
Situation (d) is different again. Here the budget is to be used for planning aimed at selection of the best mix of several enterprises (ginger, corn, cotton etc.) and is on a per unit (acre) basis. Now the storage fixed costs, which were assigned wholly to ginger in situation (b) because this was the only crop on the farm or the only crop to need storage, are shared between ginger and some other storage-using crop, say corn, one fifth or Rs 40 per acre to ginger and four fifths or Rs 160 per acre to corn according to their likely relative use of this facility. In (d), the purpose of the budget is to obtain enterprise direct costs and thence the operating gross margin (OGM or enterprise net 'price') for use in formulating optimal combinations of several enterprises (e.g., by linear programming, Section 9.6); the budget is not directed at the evaluation of past performance.
TABLE 4.2 - Evaluation of a 2.5 Acre Dryland Ginger Enterprise under Different Cost Conditions
|
For 2.5 acres of ginger |
(a) |
(b) |
(c) | |
|
Variable Cost |
(Rs) |
(Rs) |
(Rs) | |
|
|
Hired labour |
3 160 |
3 160 |
(fixed) |
|
|
Seed |
9 647 |
9 647 |
9 647 |
|
|
Tools |
63 |
63 |
63 |
|
|
Watcher's hut |
25 |
25 |
25 |
|
|
Fertilizer |
544 |
544 |
544 |
|
|
Straw mulch |
375 |
375 |
375 |
|
|
Storage |
0 |
0 |
400 |
|
|
Transport |
63 |
63 |
63 |
|
|
Marketing |
250 |
250 |
250 |
|
Total Variable Costs (VC) |
14 127 |
14 127 |
11 367 | |
|
Total Fixed Costs (FC) |
0 |
500a |
3 160b | |
|
Total Costs (VC + FC) |
14 127 |
14 627 |
14 527 | |
|
Gross Returns (GR) |
30 713 |
30 713 |
30 713 | |
|
Net Returns (NR) |
16 586 |
16 086 |
16 186 | |
|
Gross Margin (GM) |
16 586 |
16 586 |
19 346 | |
|
For 1 acre of ginger |
|
(d) |
| |
|
Gross Returns (GR) |
|
12 285 |
| |
|
Total Costs without storage |
|
5 651 |
| |
|
Total Costs with storage of Rs 40 |
|
5 691 |
| |
|
Total Direct Costs (DC) |
|
5 691 |
| |
|
Operating Gross Margin (OGM) |
|
6 594 |
| |
a For storage.
b For hired labour.
A whole-farm budget is the structural parallel of an enterprise or activity budget, with budgets of the several enterprise and activity subsystems now aggregated. There is only one change: those fixed costs which cannot be logically assigned to any activity are now included as whole-farm fixed or common or overhead costs (OC). This latter term is preferable because it distinguishes more clearly between fixed costs that are specific to an enterprise or activity and those fixed costs which are accrued on a whole-farm basis. Overhead costs consist of land, water and road taxes, insurance and repair costs of buildings which cannot be assigned to specific activities, and all other input costs relating to the upkeep and maintenance of the whole farm. These overhead costs can be both fixed and operational: e.g., both the annual tax paid on a farm water-supply pump and the fuel costs of operating it. The relevant criterion is that they cannot be logically charged against specific activities or enterprises.
The derivation of a whole-farm budget from the budgets of its constituent enterprises is shown in Table 4.3. In this simple case there are only three enterprises on the farm. This might convey an impression that enterprises can be clearly separated with well-defined boundaries. On small farms, however, there will usually be a ragtag of miscellaneous activities directed to supplying feed for the oxen, fertility for cash crops etc., so that budgets must be prepared for these also even if they do not generate a final product or positive (imputed or real) gross margin; or they can be aggregated into a smaller number of composite activities; or, when neither of these is possible, they must be included as whole-farm costs. (Such resource-generating activities are discussed in Section 4.4.)
TABLE 4.3 - Whole-farm Evaluation Budget derived from Enterprise Budgets
|
Item |
Ginger |
Cotton |
Soybeans |
Whole Farm |
|
(Rs) |
(Rs) |
(Rs) |
(Rs) |
|
|
Gross Returns (GR) |
30 713 |
20 000 |
10 000 |
60 713 |
|
Variable Costs (VC) |
14 127 |
10 000 |
5 000 |
29 127 |
|
Fixed Costs (FC) |
0 |
3 000 |
2 000 |
5 000 |
|
Overhead Costs (OC) |
|
|
|
8 000 |
|
Total Costs (TC) |
14 127 |
13 000 |
7000 |
42 127 |
|
Gross Margin (GR - VC) |
16 586 |
10 000 |
5 000 |
31 586 |
|
Net Returns (GR - TC) |
16 586 |
7 000 |
3 000 |
18 586 |
|
Household Non-farm Income |
|
|
|
3 000 |
|
Household Total Income |
|
|
|
21 586 |
Whole-farm budgets are used primarily as end-of-year accounting statements or summaries of farm performance over that or some other operating period. They are generally not operational tools, except when used to project whole-farm performance over several years, e.g., to project the total results of a five, six, seven ... year farm-development program.
At the whole-farm budget level, one other important element can now be introduced, namely household non-farm income. In Table 4.3 this is included to obtain household total income. Where the purpose of analysis is not agro-technical farm planning but rather to ascertain the economic wellbeing of the farm household, the next step would be to analyse household outgo or expenditure on non-farm items necessary to keep the whole farm-household system operational - family expenditure on medical services, food, clothing, children's schooling, meeting social obligations etc.
But this step is seldom taken in formal farm management economics (which by-and-large remains preoccupied with agro-technics). This is a pity because it leaves one with an incomplete picture of what is really going on within the most important system component, the household. In particular, it gives no knowledge at all about which beneficiaries are getting what from the system ... and, at the end of the day, this of course is what it is all about.
An enterprise or product-producing activity can also be evaluated in terms of its unit cost of production (COP). This is obtained as its total costs divided by the quantity of output achieved with those costs, i.e., TC/Y. In Table 4.1 ginger COP is Rs 14 127/6 825 kg or Rs 2.07 per kg.
COP is usually not a relevant measure of enterprise performance in providing advice to farmers (Field A), especially on small farms where interest is in (net) income rather than what it costs to obtain that income. But in other fields COP can be the most appropriate measure of performance. In Field C the manager of a milk bottling plant will want to know what the milk COP is on farms supplying raw milk to his or her plant (as a basis for setting his or her buying and selling prices and consequent profit margin); he or she will not be interested in farmers' incomes as such. In Field D, policy makers in Fiji will want to know what the copra COP is on Fijian farms in comparison with Indonesia, Philippines, Malaysia etc. in order to establish sound industry research and development policies - and perhaps even to decide if the Fijian industry has a viable long-term future.
One area where COP is important in Field A is on tea, rubber, cocoa, coconut and other estates where COP rather than net returns or gross margin is the conventional measure of estate performance, both on the same estate over time and in comparison with other estates (see Table 5.4). But taken by itself COP conveys no information, except perhaps by implication, of the real economics on these estates. In the 1960s, due largely to political instability, those tea estates of Sri Lanka with the lowest COP per pound of made tea were the worst estates in every other respect, the low COP being due to the fact that the green tea was just being harvested and processed, with little or no expenditure on field or factory or other estate maintenance. In those circumstances COP was, if anything, only a measure of the degree of current system exploitation. (The phase was only a temporary one.)
4.4.1 Types of resource-generating activities
4.4.2 Activity budgets in linear programming format
As noted previously, an enterprise - or any parallel activities of Order Level 4 or 6 (Figure 1.2) making up an enterprise - is a production process directed to the production of one or more final products for sale or consumption (but it might also indirectly generate some amount of resources). All other types of activities in a farm system (i.e., those of Order Level 1, 2 or especially 3) are directed in one way or another to the generation of resources for use on the farm: but they might incidentally also generate some final products. As with enterprises, these resource-generating activities have to be quantified and evaluated. This requires the construction of activity budgets which are in all essential respects similar to the enterprise budgets discussed above.
The main types of resource-generating activities are now briefly discussed. Their consideration in whole-farm system planning is examined in Section 9.3.1.
Activities and enterprises as resource generators
Those enterprises or activities which also generate some amount of resources fall into three categories: they might generate the resource (a) for their own use or (b) for the specific use of some other enterprise or (c) for general non-specific use by other enterprises. In the sketch of Figure 4.4, situation (a) exists in the dairy enterprise: enough of the female calves produced are retained to replace the older cows as these are culled from the herd. In regard to this resource the enterprise is essentially self-perpetuating. Situation (b) is represented by the second enterprise, maintaining a beef cattle herd in parallel with the dairy herd in which the latter generates male calves for the specific use of the beef enterprise. Situation (c) is represented by the flow of another resource, dairy cow manure, into the general farm resource pool for use by any of the farm's crop enterprises/activities. In all these cases the resource-generation aspects of the dairy cows are incidental to their main purpose of producing a final product, milk. This type of enterprise (dairy cows) as a resource-generator would be quantified/budgeted/evaluated as was the ginger enterprise of Table 4.1; its total output value would include the value of calves and manure.
FIGURE 4.4 - Example of Enterprises as Resource Generators
Major resource-generating activities
On mixed farms, particularly livestock farms, most resource-generating activities consist of substantial sets of inputs and operations which are similar in all respects to main enterprises except that the main output now is a resource for use on the farm, i.e., an intermediate product rather than a final product. Common examples are a fodder crop grown for dairy cows and a legume crop grown to enhance fertility for some following cash crop.
When financial evaluation of such activities is required, this will proceed as in Table 4.1. If no final product is generated, the results of this evaluation will be a negative 'net return' or gross margin equivalent to activity total costs. If some final product is incidentally produced, the value of this will partly offset activity costs; in some activities, costs might be fully offset by the value of final products.
Budget evaluation of resource-generating activities will be necessary in two situations: first, when the activity as a resource generator is to be compared with alternative activities generating the same resource; and second, when cost and return data for all enterprises and activities on a farm, which have been evaluated separately, are to be pooled to enable a whole-farm budget to be constructed (as in Table 4.3 above).
As with enterprises, it is sometimes not possible to define the boundaries of resource-generating activities, in which case several might have to be aggregated as a composite, or even accounted for on a whole-farm basis.
Resource generation by purchase or barter-exchange activities
Probably the simplest way for a farmer to acquire a resource is to buy it or exchange some other product or resource for it - payment of money for the use of a parcel of land, exchange of family labour with a neighbour for use of her oxen etc. Such purchase or barter is equally an activity and is quantified and evaluated in terms of a budget, albeit a very simple one. Budgets for two such activities - renting land and exchanging labour for ox draught power - are shown in Table 4.4.
TABLE 4.4 - Example of Budgets for Resource Generation by Purchase or Barter-exchange Activities
|
Budget Item |
Activity |
|
|
Rent land |
Exchange labour for oxpower |
|
|
Input cost |
Rs 600 |
20 labour days |
|
Output return |
0.25 ha land |
4 ox days |
|
Gross margin |
-Rs 600 |
Rs 0 |
In the case of renting land, considering the activity only as an activity (and not considering any eventual recovery of the rental cost from the future sale of the crop to be grown on the land), the activity result is an annual cost of Rs 600 or a net return or gross margin of -Rs 600 per unit (0.25 ha) of activity. This conceptual approach is appropriate where there are several alternative ways of acquiring land (by rent, lease, outright purchase, clearing jungle etc.) and the costs or returns of each have to be evaluated regardless of what might actually be produced on the land. However, if the renting of land is a normal cost of growing some specific crop, 'renting land' would then be only a normal cost item in the budget for such an enterprise and no separate land-renting activity budget would be necessary.
This also applies to the case of exchanging labour for oxpower. The only difference between the two cases is that the gross margin of exchanging labour is zero because it is assumed that the value of labour exchanged is equal to the value of ox days received (at least in the eye of the farmer). Again, it should be stressed that these resource-generating activities are here quantified and evaluated as activities; if they happen to be integral parts of some specific enterprise then no separate budgets are needed.
For one important method of analysis used in prescriptive farm planning, i.e., linear programming (LP), such budgets as those of Table 4.4 are reduced yet further. As shown in Table 4.5, they are re-written and couched, with slight rearranging, in relation to the farm's resource pool. The GM of each activity is the same as before and indicates the money amount by which the value of output of the farm system increases or decreases due to one unit of the respective activity being included as a resource generator in the farm production plan: renting land as an activity in itself would reduce annual farm income by Rs 600; exchanging labour would have no direct effect. (However, both would have a later indirect effect when actually used in some enterprise.)
TABLE 4.5 - Example of Resource-generating Activity Budgets in Linear Programming Format
|
Budget Item |
Activity |
||
|
Rent land |
Exchange labour for oxpower |
||
|
Gross margin (Rs) |
-600 |
0 |
|
|
Resource pool |
|||
|
|
Land (ha) |
-0.25 |
|
|
|
Labour (days) |
|
20 |
|
|
Oxpower (days) |
|
-4 |
In LP format the input and output items of the budgets are stated in terms of their effect on or demand for those corresponding resources shown in the resource pool. Renting land has a negative demand on land in that it contributes to rather than detracts from whatever supply of land is available. Similarly the budget of the labour exchange activity indicates that this barter activity would require or use 20 days of farm labour and that it would generate four days of oxpower. The above activities and their 'budgets' are of an operational nature; their use in whole-farm planning is illustrated in Section 9.6.
Resource generation by transfer activities
This again is a very simple kind of activity. It consists of transferring some particular resource now assigned to one activity/enterprise to use by some other activity or enterprise. The ginger enterprise of Table 4.1 provides an example. About seven tonnes of ginger storage capacity is needed. If this does not presently exist on the farm, a storage shed could be built at some known cost, or alternatively the farmer might be able to convert part of his or her cow barn to storage space for ginger. This type of activity 'generates' resources by transferring them from activities/enterprises where they are not needed or where they have a low use-value to other activities/enterprises where they are needed or have a higher use-value.
Just as for other types of activities, for farm-planning purposes transfer activities need to be quantified in budget form. Thus the above examples of transfer of space from use by cows to ginger is quantified by the following simple budget of this transfer activity:
|
Budget item |
Transfer of space from cows to ginger |
|
Gross margin of activity (Rs) |
0 |
|
Cow shelter lost (m2) |
1 |
|
Ginger storage gained (m2) |
-1 |
The above example might appear trivial, but resource generation by use-transfer is a powerful tool in more sophisticated analysis of farm systems using linear programming (Section 9.6).
External activities
All the activities noted so far have been internal to the farm. In addition, where the opportunities exist, households often supplement these on-farm activities by off-farm work and petty trading. However, such off-farm activities are usually undertaken more to supplement household income than to obtain resources for the farm component. An exception could be when an above-normal amount of resources is needed temporarily for farm development as distinct from routine farm production.
Application and use of resource-generating activity budgets
Budgets for the various types of resource-generating activities outlined above are applied in whole-farm planning in Section 9.6.
Using a budget such as that of Table 4.1 as a base, several extensions can be made from it for operational purposes, viz.:
(i) preparing partial budgets;(ii) developing conditional or parametric budgets, equations or graphs;
(iii) deriving further performance factors for use in comparative analysis of farm subsystems;
(iv) preparing long-term evaluation budgets for ex ante appraisal of investment in an activity or enterprise which extends over many years; and
(v) assessing an enterprise or activity under conditions of uncertainty.
Uses (i) and (ii) are discussed in the following sections of this chapter. Further performance factors are discussed in Chapter 7. Evaluation of activities over time is considered in Chapter 10 and under uncertainty in Chapter 11.
As the term indicates, partial budgeting is concerned with the evaluation of only selected parts of a system - only parts of a process, activity, enterprise, farm service matrix or of the whole farm (Dillon and Hardaker 1993, Ch. 5). In farm management in Field A (i.e., advising farmers) partial budgeting is most commonly used to test possible adjustments to farm-level systems which are presently not working well. At higher levels it is widely used as the basis for structuring agricultural development projects (e.g., to assess the impact which a dam or a new road system might have on some parts of existing farm-level systems).
In Table 4.6 partial budgeting is applied to the 2.5 acre ginger enterprise of Table 4.1 to evaluate the likely impact which irrigation might have on this presently dryland enterprise. Part (a) of Table 4.2 is the base budget for this activity, the present 'without irrigation' situation. In making the comparison it is necessary to consider only those few elements or parameters which might change if irrigation were to be used. These changes comprise additional yield whose value is partly offset by additional labour, transport and marketing costs and the lower price for irrigated ginger. As shown in part (b) of Table 4.6, the net effect of these changes, i.e., 'after' versus 'before', is an increase in gross margin of Rs 4 422.
TABLE 4.6 - Evaluation of Adjustments to an Enterprise or Activity by Partial Budgeting
|
(a) Base budget (unirrigated ginger) |
Change from |
(b) Partial budget (irrigated |
||||
|
Input cost (Rs) |
|
Extra labour (Rs) |
||||
|
|
Hired labour |
3 160 |
+ |
|
Water channels |
700 |
|
|
Seed |
9 647 |
0 |
|
Water application |
600 |
|
|
Tools |
63 |
0 |
|
Extra harvest |
100 |
|
|
Watcher's hut |
25 |
0 |
|
|
|
|
|
Fertilizer |
544 |
0 |
|
|
|
|
|
Mulch |
375 |
0 |
|
|
|
|
|
Storage |
0 |
0 |
|
|
|
|
|
Transport |
63 |
+ |
|
Extra transport (Rs) |
15 |
|
|
Marketing |
250 |
+ |
|
Extra marketing (Rs) |
80 |
|
Total cost (Rs) |
14 127 |
+ |
Total extra costs (Rs) |
1 495 |
||
|
Output |
|
Output changes |
||||
|
|
Ginger (kg) |
6 825 |
+ |
|
Extra ginger (kg) |
1 500 |
|
|
Price (Rs/kg) |
4.50 |
- |
|
Lower price (Rs/kg) |
4.40 |
|
|
Gross value (Rs) |
30 713 |
+ |
|
New gross value (Rs) |
36 630 |
|
Gross margin (Rs) |
16 586 |
+ |
New gross margin (Rs) |
21 008 |
||
|
|
|
|
Extra gross margin (Rs) |
4 422 |
||
At process level, partial budgeting is a useful tool for adjusting systems of Order Level 1 and 2 which do not warrant the use of more sophisticated methods of response analysis (Chapter 8). At whole-farm level, partial budgeting can be used for adjusting the enterprise or activity mix of a system if this does not warrant the use of the more powerful programming methods of Chapter 9.
4.7.1 Single-parameter extensions
4.7.2 Two- and three-parameter extensions
The type of budget of Table 4.1 refers to an activity as formulated at some specific point in time. Obviously it will cease to be valid if there are changes to prices, costs, technology or the underlying production conditions. In most situations such changes will in fact occur either through the influence of the market on prices and/or costs, through changes in technology introduced by the farmer causing changes in yield and cost, or through yield changes due to Nature. If the budget is going to be needed for future or continuing use, it is desirable to anticipate likely future changes in the relevant critical parameters and build these into the base budget. This is done by adding, at the time of budget construction, conditional (or parametric) extensions to it (Dillon and Hardaker 1993, Ch. 5). On the other hand, one might not be concerned with future change but only with considering several alternative cost/price/technical scenarios at the moment of budget construction (e.g., What if costs were to double? What if yields increase/decrease by 20%?...). Conditional extensions to reflect such possible changes in critical parameters are a useful analytical tool.
The steps in conditional extension of an enterprise or activity budget are straightforward, viz.:
(i) Identify the parameter which is most significant in terms of its impact on budget results and likelihood to change. In the example of Table 4.1 this is, say, ginger sale price.(ii) Specify the range over which this parameter is likely to change; here, say, from Rs 3 to Rs 6 per kg.
(iii) Specify the budget result (e.g., ginger gross margin per acre) as a simple equation in terms of the parameter of interest (e.g., ginger price). Thus, for the particular example being used here, from Table 4.1:
Gross margin/acre = Total revenue/acre - Variable cost/acre,
i.e.,
GM = TR - VC = (Yield/acre)(Price/kg) - VC = (Y)(py) - VC = 2 730py - 5651where Y denotes ginger yield per acre in kg and py denotes ginger price per kg in Rs.
(iv) Graph the single-parameter equation from (iii) as shown in Figure 4.5 and use this graph as an alternative to solving the equation for all likely prices.
Such a parametric-budget approach permits the validity of the base budget to be maintained even though the variable of concern might change over time.
FIGURE 4.5 - Example of a Single-variable Parametric Budget showing Ginger Gross Margin per Acre for Ginger Prices ranging from 3 to 6 Rs/kg

Parametric budgeting is readily expanded to accommodate two or three variable parameters - beyond three variables, graphical presentation of results is usually too complicated. As an example, Figure 4.6 shows a three-variable parametric budget relating to the growing and chipping of cassava tubers by an estate for sale as livestock feed. The objective of this budget is to allow rapid determination of total estate net returns.
The unstable parameters of concern to management on this particular estate are: annual field yield of fresh cassava tubers per acre, the percentage of dry processed chips recovered per ton of wet tubers, and the sale price of dry chips. The graphs of Figure 4.6 show how the results of a base budget for this enterprise might be parametrized in order for the budget to be 'solved' for any combination of the three unstable parameters: e.g., at a yield of 10 tons per acre, with a chips recovery rate of 35% and a chips sale price of $13 per picul4, total annual net returns for this particular West Malaysian estate would be approximately $330 000. Analogously to the case of single-variable parametric budgeting (Figure 4.5), the graphs of Figure 4.6 are based on the net returns equation
NR = TR - TC = (Y)®(py) - TC
where Y is tuber yield in tons per acre per year, r is the dry chips recovery coefficient and py is chips sale price per picul. Y, r and py are variable (i.e., parametrized in the budget over their relevant ranges) and total costs are given.
4 Picul is a common weight measure in parts of South East Asia. It equals 100 catties of 1.3 pounds each and is thus equivalent to about 60 kg.
FIGURE 4.6 - Example of a Three-variable Parametric Budget showing Annual Net Returns on a Cassava Estate by Tuber Yield, Dry Chips Recovery Rate and Sale Price

Because budgets are the basis of most of the subsequent farm-household system analysis presented in the following chapters, it is appropriate to conclude this chapter with a list of do's and dont's as a guide to good budget construction. This applies specifically to enterprise and activity budgets but also generally to other types of budgets such as whole-farm, partial, evaluations-over-time etc.
(1) The first requirement is for an accurate and unambiguous heading or title to the budget, e.g., not just Tea' if reference is to some specific type of tea grown at a specific location and elevation.(2) Specification should be given of the level or size of the enterprise or activity to which the budget data refer - e.g., whether to one, two, six, seven or 100 hectares; or whether to one or 100 head of camels. It is not helpful when one encounters budgets headed simply 'Sheep' or 'Economics of Goats' etc. without indication of the number, type, breed and location of the animals under consideration.
(3) If the budget contains standardized or converted units - e.g., when all the cows, calves, oxen, buffalo etc. on a farm are converted to common animal units - the basis of standardization should be specified in the table or a footnote.
(4) Where appropriate, a listing should be given of the separate operations performed within the budgeted enterprise or activity. When input requirements are time-specific, this should be accompanied by a calendar of operations showing when each operation is performed.
(5) A list should be given of all inputs and, if appropriate, as in an enterprise budget, their unit costs and the total of these costs.
(6) A similar listing of all products generated (by-products as well as main products), their respective unit prices if they are sold and the total value of the output should be given.
(7) The manner of disposal of the items mentioned in (6) above, together with the quantities disposed of by cash sale and various other means, should be shown. This is particularly important in traditional farming systems.
(8) Grade and price classifications should be given for that part of products sold. Sometimes a farmer will sell his or her produce ungraded, in which case an average price is appropriate. Often, however, he or she will do his or her own grading, resulting in two or more product categories, each with its respective price. This level of detail is often necessary in diagnostic analysis where it will serve as a pointer to specific system weaknesses (Chapter 7).
(9) An aggregation should be given of cash sales to obtain total cash returns for the budgeted enterprise or activity.
(10) An aggregation should be given of all economic returns (cash receipts plus the real or imputed values of those parts of production which are used on the farm or bartered or given away). If only produce which is sold is considered, this might grossly underestimate actual total production and thus the real efficiency of an enterprise or activity.
(11) A statement should be given of enterprise net returns or gross margin, preferably both.
(12) A budget prepared for diagnostic purposes must obviously contain sufficient detail to permit problem diagnosis. To describe an input as 'fertilizer - 100 kg' might be sufficient for some purposes but it would be near useless if a specific fertilizer problem exists on a farm and there is a need to know what kind of fertilizer is being used and perhaps even when it is being applied and how frequently.
(13) Although budgets prepared for financial accounting or economic evaluation need not contain physical data (e.g., ox days used, kg of crop harvested etc.), it is generally desirable that they do so, especially if they might be used at some future date to chart the progress of the farm over time. Because of price changes, inflation and devaluation, the information - drawn from comparison of 'then-and-now' budgets - that a Javanese paddy farmer advanced from having an income of Rp 80 000 in 1975 to one of Rp 300 000 in 1995 would be spurious; what would be important is whether his or her paddy yield increased or actually declined, and by how much.
(14) The time-dimension of the enterprise should be noted, preferably in the budget heading. This is often essential information in relation to short-term and annual field crops: a one-hectare bean crop which occupies the land for six weeks will, on an annual basis, require only one quarter of the land resources required by one hectare of a six-months paddy crop; and, other things equal, where land is in short supply a four-month paddy crop will be superior to a five-month crop. Some livestock enterprises also will require a time specification, e.g., 10-, 11- or 12-week batches of broiler chickens. Most livestock enterprises, however, will be operated on a continuing indefinite basis and with these, as well as tree crops, the time basis of most budgets will usually be a one-year period.
(15) Finally, the date of construction and the sources of data contained in a budget should be indicated - whether from records of a single farm, from a survey of several farms or simply the analyst's estimates. This can serve two purposes. It will provide the opportunity for independent check of the data should this become necessary, and it will indicate at least implicitly the degree of reliability that can be attached to the respective data items and to the results of any analysis based upon them.
Barnard, C.S. and J.S. Nix (1973). Farm Planning and Control, Cambridge University Press.
Brown, M.L. (1979). Farm Budgets: From Farm Income Analysis to Agricultural Project Analysis, published for the World Bank by Johns Hopkins University Press, Baltimore.
Dillon, J.L. and J.B. Hardaker (1993). Farm Management Research for Small Farmer Development, FAO Farm Systems Management Series No. 6, Food and Agriculture Organization of the United Nations, Rome.
McConnell, D.J. (1992). The Forest-garden Farms of Kandy, Sri Lanka, FAO Farm Systems Management Series No. 3, Food and Agriculture Organization of the United Nations, Rome.
Makeham, J.P. and L.R. Malcolm (1986). The Economics of Tropical Farm Management, Cambridge University Press.
Ruthenberg, H. (1976). Farming Systems in the Tropics, 2nd edn, Oxford University Press.
Upton, M. (1987). African Farm Management, Cambridge University Press.